Aller au contenu
  • En ligne récemment   0 membre est en ligne

    • Aucun utilisateur enregistré regarde cette page.

Messages recommandés

Posté(e)

Bonjour à tous je possèdes une Audi a3 1l8 turbo V5 de 2000 bva4 avec 247000 kms

J'ai un problème avec ma bva , je m'explique

Premièrement ça ne m'indique plus la position de vitesses P.R.N.D.3.2.1 , les lettres et les chiffres sont bien afficher mais c'est tout

Quand je passe en D pour rouler elle part en 3 eme et reste en 3 , elle ne rétrograde plus et ne passe pas en vitesse supérieure .

Quand je passe là 1 ou 2 ou 3 tout va bien.

J'ai donc fais une vidange boite et rien n'a changé

Je l'ai passer au diag et zéro défaut hormis code 18010 (problème de tension )

J'ai un capteur sur la boîte que j'ai nettoyé mais rien à changer

Je précise que tout cela est survenu du jours au lendemain sans rien toucher .

Quelqu'un aurais une petite idée

Merci à tous pour votre futur aide

Posté(e)

Je précise que tout cela est survenu du jours au lendemain sans rien toucher .

 

 

tu n a pas de chance,moi a chaque fois que j ai une panne sur quoique ce soit , ma tv est tombé en panne par exemple , j ai recu un sms sur mon phone , 1 jour avant pour m avertir et dire la piece a changer pour la reparer , tu n as pas l application..??

 

sans plaisanterie ,c est le principe de la panne , ca vient et ca previent pas...

 

247 000km ? boite d origine ?

Posté(e)

Salut

Mdr , je ne sais pas si c'est la boîte d'origine car je l'ai acheter elle avait 200000 kms , par contre se matin l'indicateur fonctionnait grrr mais en D je reste en 3 eme

Posté(e)

J'ai du nouveau , je viens d'aller chercher ma fille a l'école (environ 2 kms) à l'aller bin toujours bloqué en 3 eme et du coup j'ai laisser tournée la voiture devant l'école et au retours donc toujours en D , elle est parti en 1 après 2 après 3 et là elle c'est mi à patinée pour passer en 4 comme si elle était entre deux vitesses ça me faisait accélérer dans le vide , j'ai donc repasser la 3 en manuel

  • 4 semaines plus tard...
Posté(e)

Si elle est bloquée en 3, c'est qu'elle est en mode dégradé. Sur les boites 01M c'est comme ca ... Donc panne électronique.

Il faudrait tester les capteurs avec VAGCOM en mode lecture des blocks , mais c'est étonnant que tu n'est aucun défaut de remonté...

Ces boites sont plutôt solides mais facilement réparables.

les défauts les plus courants sont :

 

- Manque d'entretient (vidanges) , les soleniodes se bloquent dans le distributeur, du coup t'a des vitesses qui passent, qui passent pas, sa patine...

- Avec l'age, la nape de connection des solénoïdes qui baignent dans l'huile lache. Du coup, de temps a autres, tu a des vitesses qui passent pas. Normalement un défaut dois remonter au vagcom

- les deux capteurs a effet HALL sur la boite, et l'autre sous le support moteur , normalement tu a un défaut qui remonte. Tu passe en mode dégradé quand l'un ou l'autre est HS.

 

Tu peux commencer par changer ses deux capteurs, ils ne coutent pas une fortune et c'est plutôt facile a faire.

Il y a aussi un capteur de vitesse engagée, j'ai jamais entendu personne le changer ni vu sur le net, mais peu-être que...

 

Le fait que tes voyants au tableau de bord PRND soient éteint indique le mode dégradé.

 

Tu as bien suivi la procédure spécifique pour la vidange de la boite ?

 

un manuel technique : http://www.linuzeus.net/arquivos/AT.pdf

 

A+

Posté(e)

Salut

Le seul défaut trouver c'est sonde de température mauvais fonctionnement

L'indicateur de vitesse refonctionne correctement mais toujours ce problème de vitesse

J'ai remarqué que ça déconnait plus à chaud qu'à froid

  • 3 semaines plus tard...
Posté(e)

Bonjour à tous,

 

J'ai un petit soucis concernant mon Audi A3 8L de 2002.

 

je possède une BVA, mais j'ai malencontreusement cassé le volet coulissant de ma boite de vitesse et j'ai maintenant un grand trou en dessous mon levier de vitesse.

 

Je voulais savoir si on pouvait encore trouver cette pièce ?

 

merci d'avance pour votre aide

 

 

 

Posté(e)

Bonjour à tous,

 

J'ai un petit soucis concernant mon Audi A3 8L de 2002.

 

je possède une BVA, mais j'ai malencontreusement cassé le volet coulissant de ma boite de vitesse et j'ai maintenant un grand trou en dessous mon levier de vitesse.

 

Je voulais savoir si on pouvait encore trouver cette pièce ?

 

merci d'avance pour votre aide

 

 

 

 

Salut,

 

Tu as une boîte auto 4 rapports ou tiptronic 5 rapports ?

Posté(e)

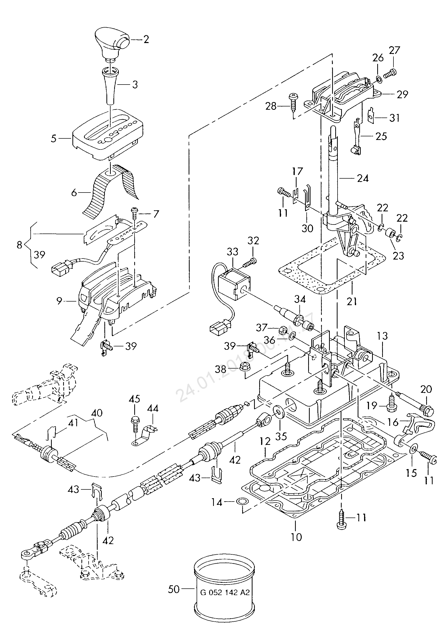
Si c'est la pièce repère 6 de la deuxième photo, la réf OEM est : 8L0 713 187 A (bande de recouvrement)

  • 2 ans plus tard...
Posté(e)
Le 07/01/2018 à 16:49, Macfly37 a dit :

J'ai aussi tenté de rouler en débranchant le capteur sur la boîte et cela n'a rien changer comme si il ne servait à rien

Quelles sont les suites données svp ? mêmes symptômes mêmes défauts remontés a l'affichage tout paraît aller pb tensions et cc

  • 1 an plus tard...
Posté(e) (modifié)

J’ai le même problème avec une boite 01M (code FDH) sur une golf4 1.6.

Tout fonctionne bien a froid et quand elle est chaude la quatrième ne passe plus ou peut être qu’elle passe mais un embrayage ou un frein ne fonctionne pas et c’est comme si elle était débrayée donc plus aucun couple transmis. Aucun défaut au vagcom.

Vidange faite, ca ne change rien….

A court d’idee pour l’instant!

 

Modifié par gns

Créer un compte ou se connecter pour commenter

Vous devez être membre afin de pouvoir déposer un commentaire

Créer un compte

Créez un compte sur notre communauté. C’est facile !

Créer un nouveau compte

Se connecter

Vous avez déjà un compte ? Connectez-vous ici.

Connectez-vous maintenant
×
×
  • Créer...