Aller au contenu
  • En ligne récemment   0 membre est en ligne

    • Aucun utilisateur enregistré regarde cette page.

Messages recommandés

  • Réponses 3,9k
  • Créé
  • Dernière réponse

Classement des membres dans ce topic

Classement des membres dans ce topic

Posté(e)

pas le choix je prends la route demain a 16h00 je suis attendu a 20h00 a bordeaux pour l'apéro

 

Demain:

 

repose du tout

teinter les vitres AV

test circuit suralimentation

vidange boite transfert

Posté(e)

a oui de la route a faire sa :) tu fait toi même les vitre teinter ??? j’espère que ton teste de surale sera bénéfique pour toi :)

Posté(e)

Boîte de transfert , donc le pont arrière ? (Pas la haldex)

Tu met quoi comme huile ?

Posté(e)

oui je le fait moi meme

 

j'espere surtout ne pas avoir de mauvaise surprise car je ne pourrais pas changer de durites avant de partir

 

Boîte de transfert , donc le pont arrière ? (Pas la haldex)

Tu met quoi comme huile ?

 

non la boite de tansfert juste au niveau de la boite

 

a coté des transmissions

 

je met de la motul Motylgear 75W90 comme plusieurs membres

 

c'est clem qui m'avait donné l'info

Posté(e)

Donc tu vidange t'as boîte de vitesse ?

Oui la motulgear 75w90 est top, à ce qu'on entend ...

 

Je vais aussi vidanger ma boîte et je vais faire aussi le pont arrière ( pas le haldex) ...

Posté(e)

oui c'est claire j’espère pas pour toi a tu a de la patiente pour faire sa ;)

Posté(e)

oui quand je cherche j'aime trouver

 

pour preuve la clim

Posté(e)

As tu un tuto pour la vidange du pont ? ( Pas l'haldex ). Tu m'as donné l'idée de le faire aussi afin que je sois a jour car je ne sais pas quand il a été fait.

 

Pour l'huile de boite de vitesse vous mettez aussi de la Motul Motylgear 75W90? La boite contient combien de litre ?

Posté(e)

Donc tu vidange t'as boîte de vitesse ?

Oui la motulgear 75w90 est top, à ce qu'on entend ...

 

Je vais aussi vidanger ma boîte et je vais faire aussi le pont arrière ( pas le haldex) ...

 

non la vidange de la boite a été faite avec le volant moteur

 

en sur le S3 tu as

 

huile moteur

huile boite

huile boite transfert (la partie avec le renvoi angle)

huile haldex

Posté(e)

As tu un tuto pour la vidange du pont ? ( Pas l'haldex ). Tu m'as donné l'idée de le faire aussi afin que je sois a jour car je ne sais pas quand il a été fait.

 

Pour l'huile de boite de vitesse vous mettez aussi de la Motul Motylgear 75W90? La boite contient combien de litre ?

 

non la motylgear juste pour la boite de transfert (1L) pour la boite

 

et motulgear pour la boite (environ 3Litres)

 

http://www.oleopneus.com/fr/transmission/179-motul-gear-300-75w90-1l.html

Posté(e)

ok denis..

donc c'est bien se que je pensait des le départ, tu vidange le pont arrière (enfin moi j'appel ça comme ça :nixweiss: ) il y as une capacité de 1 litre

 

ewbi.jpg

Posté(e)

oki simpas du conseille je vais marquer sa je pense faire tous sa aussi car aucune idée de quand sa a étai fait :(

Posté(e)

ok denis..

donc c'est bien se que je pensait des le départ, tu vidange le pont arrière (enfin moi j'appel ça comme ça :nixweiss: ) il y as une capacité de 1 litre

 

ewbi.jpg

 

oui on se comprends pas mais sa se trouve au niveau de la boite de vitesse

Posté(e)

Denis toi tu vidange le renvoi d'angle de la boite a vitesse .

 

 

Posté(e) (modifié)

je comprend toujours pas mais c'est pas grave....( tu me montrera en photo, si tu as le temps d'en faire )

pour moi tu as

-la boite de vitesse

-puis l'arbre de transmission

-puis le haldex

-et accoupler au haldex le pont arrière, c'est lui que tu va vidanger demain(je suppose) celui que j'ai mis plus haut...

 

 

sinon pour imager un peu la depose du panneau de porte

 

lmxo.jpg

Modifié par geoffroy 67
Posté(e)

Denis toi tu vidange le renvoi d'angle de la boite a vitesse .

 

oui c'est ca

Posté(e)

merci geoffroy, je pense que l'on parle de la meme chose

 

Sinon clem pour faire le niveau une fois vidangé du renvoi angle tu fais comment ?

 

je pensais remplir jusqu'a ce que cela déborde ?

 

Autre chose pensez vous qu'il faille mieux que je garde ma boite a air origine avec mon k&n dedans ou sinon je pensais mettre une bmc ?

Posté(e)

Je l'est pas vidanger . Faudrait voir sur elsawin ce qui dise mais surement la même technique que pour la boite et le pont ar

 

Posté(e)

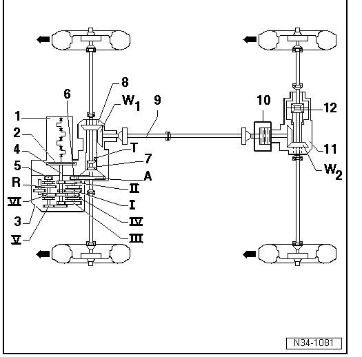
Geo regarde la partie ou ta la flèche

 

https://www.google.f...150.htm;619;504

 

la partie ou viens ce fixer l'arbre c'est le renvoi d'angle

 

ok donc ça se situe pas sur la boite de vitesse? c'est bien a coté de l'haldex?

 

 

sur ce plan c'est bien la piece n° 11?

 

abhnt.jpg

lqq7.jpg

Posté(e)

la boite j'ai fait par débordement

 

non c'est le 8

 

l'haldex est au niveau du train AR

Posté(e)

ok je comprend mieux la...

 

en faite je ne savais pas que l'huile de la boite de vitesse n'était pas la même que l'huile de cette fameuse transmission angulaire...

 

du coup si tu as le temps denis tu peux me faire des photos de par ou tu vidange ça?

Posté(e)

Le mieux est la boite a air d'origine il me semble d'après certain préparateur

Posté(e)

ok je comprend mieux la...

 

en faite je ne savais pas que l'huile de la boite de vitesse n'était pas la même que l'huile de cette fameuse transmission angulaire...

 

du coup si tu as le temps denis tu peux me faire des photos de par ou tu vidange ça?

 

oui par contre je poserais peu etre pas demain

Posté(e)

Pour la boite de la 75W90 GL4 et la GL5 pour le pont.

Posté(e)

Pas de prob t'as un planning charger....

 

Mais je reste curieux de voir si cette fameuse transmission angulaire n'as pas la même huile que celle de la boîte de vitesse .

Posté(e)

Pour le coup geoffroy je me pose la même question, regarde sur elsawin. Je suis sur le portable un peu dure a faire des recherches

Posté(e)

non c'est pas la meme huile

 

car un fois la boite déposée donc vidanger aussi car je voulais le faire

 

j'avais de l'huile qui sortait de ce renvoi

Posté(e)

j'ai déja fait des recherches...

car je veux aussi tout vidanger...

sur ELSA il y as la vidange de la boite (qui n'est jamais prevue sauf si elle as été tomber), la vidange du Haldex, et le pont arrière (aussi appeler couple réducteur arrière).

 

rien d'autre, donc forcement je m'interresse sur ce sujet :nixweiss:

Posté(e)

Salut bas après mon passage chez audi il mon dis que la boite n étai pas prescrit le renvoie d angle mon dis a peut près toute les 3 vidange ainsi que le haldex après sa coute rien de faire la boîte ;) pour repondre moi j ai une bmc et j en suis content mais je pense que il a rien de mieux que la boite a air d'origine avec un filtre comme ta et tu fait une prise d air dans la calandre nickel je suis d'accord avec honey ;)

Posté(e)

On ne sait pas toujours ce qu'il faut comme huile exactement. Si c'est la même ou pas ? Beaucoup dise de la motul gear 75w90 gl4 pour la boîte et de la gl5 pour la transmission...

Posté(e)

ok je garde ma boite et vois pour une prise d'air

Posté(e)

On ne sait pas toujours ce qu'il faut comme huile exactement. Si c'est la même ou pas ? Beaucoup dise de la motul gear 75w90 gl4 pour la boîte et de la gl5 pour la transmission...

 

je pense pas que la boite est la meme huile que le renvoi car comme je l'ai dis j'ai pu encore vidangé meme boite vide

Posté(e)

bon alors mise en ression du circuit par le biais de la durite qui se raccorde a la boite a air

 

donc tout l'air finis par se barrer en quelques secondes

 

je pense a entendre une fuite sous la pipe admission

 

A votre avis ?

Posté(e)

Ben tu as certainement une fuite après tes dire ou sans être devant l'auto c'est dure !

Posté(e)

J'ai eu le même problème il y a deux semaines a la mise sous pression. Ma fuite venait des durites sous le collecteur d'admission. Les deux durites qui se raccord a une durite en dur été coupé. C'est difficile a t'expliquer comme ça. Je t'envoie une photos des durites en question tout a l'heure. Je suis sur mon téléphone la donc pas évident.

Posté(e)

J ai eux le même problème que honey les durite la étai couper lors de mon changement de culasse :( j en et eux pour une 50 euros chez audi

Invité
Ce sujet ne peut plus recevoir de nouvelles réponses.
×
×
  • Créer...