WAUZZZ
Utilisateur-
Compteur de contenus
9 828 -
Inscription
-
Dernière visite
-
Jours gagnés
14
Tout ce qui a été posté par WAUZZZ
-
Salut, Il y a aussi l'émetteur d'embrayage accouplé à la pédale : Pièce repère 19 de l'éclaté suivant : https://audi.7zap.com/fr/rdw/audi+a4+avant/a4/1998-218/7/721-721025/#19 @+
-
Remplacer un porte instrument HS
WAUZZZ a répondu à un(e) sujet de kalimer0 dans A4 B6 / A4 B6 Cabriolet - (2001 à 2004)
Salut, Puisque tu as Super VAG K + CAN, tu ne peux pas faire directement un IMMO OFF dans le porte instruments (Fonction IMMO Switch du Super VAG K) ? @+ -
Salut, Voici l'éclaté avec les longueurs de durites indiquées en nomenclature : https://audi.7zap.com/fr/ca/audi+a4+avant/a4/2001-223/1/131-131015/#29 @+
-
TDI 110 AFN ne démarre plus après dépose-repose de la pompe à injection.
WAUZZZ a répondu à un(e) sujet de ibra87 dans A4 B5 - (1995 à 2001)
Salut, Les 1,7V, c'est moteur tournant. Est-ce que les résistances de l'actuateur de pompe mesurées depuis sa prise sont OK ? - entre bornes 1 et 2 : entre 5 et 7 ohms (1er enroulement du transmetteur de tiroir de régulation G149), - entre bornes 2 et 3 : entre 5 et 7 ohms (2ème enroulement du transmetteur de tiroir de régulation G149), - entre bornes 5 et 6 : entre 0,5 et 2,5 ohms ( Actionneur de débit N146). @+ -
Coffre impossible à ouvrir mais bruit du mécanisme
WAUZZZ a répondu à un(e) sujet de soren dans A4 B5 - (1995 à 2001)
Salut, La procédure ne fonctionne pas sur les B5 phase 2 car il n'y a pas de trappe d'accès sur la garniture intérieure : Pour accéder au mécanisme, Il faut se faufiler dans le coffre depuis les places AR pour retirer l'habillage rep 10 en retirant au préalable la vis rep 14. Voir éclaté à ce lien : revetement du capot de coffre - Audi A4/Avant(A4) [EUROPA 2001 année] (7zap.com) @+ -
Salut, Le transmetteur de pression différentielle est un capteur qui mesure la différence de pression entre l'amont et l'aval du FAP. Il mesure en fait le taux d'encrassement du FAP par les particules. Sur le FAP, il y a 2 tuyaux en entrée et en sortie de FAP ces 2 tuyaux aboutissent au transmetteur de pression différentielle. https://xenons4u.co.uk/blog/p2452-p2453-p2454-p2455-p2456-dpf-diesel-particulate-filter-pressure-sensor-error-codes/ Vu que le défaut dénonce un problème d'ordre électrique, il y aurait soit un défaut du transmetteur soit un problème sur le faisceau électrique du transmetteur. @+
-
TDI 110 AFN ne démarre plus après dépose-repose de la pompe à injection.
WAUZZZ a répondu à un(e) sujet de ibra87 dans A4 B5 - (1995 à 2001)
Salut, Pour toutes informations supplémentaires, se reporter à la revue technique des moteurs 1.9 TDI longitudinaux et transversaux au lien suivant : http://chopsauce.online.fr/doc/moteurAHU.pdf @+ -
TDI 110 AFN ne démarre plus après dépose-repose de la pompe à injection.
WAUZZZ a répondu à un(e) sujet de ibra87 dans A4 B5 - (1995 à 2001)
Salut Yan, Quand le volant moteur fait deux tours, l'AAC et la PI n'en font qu'un seul... je pense que c'est ce que tu voulais écrire . Pour informations - la fente pour caler l'AAC est excentrée (il me semble) , ce qui n'autoriserait qu'une position pour positionner la règle de pigeage (à confirmer...), - La poulie de pompe comporte une clavette sur l'arbre conique de la pompe qui n'autorise qu'une position angulaire. Si la pige est bien insérée au travers du trou de pigeage de la poulie, on est forcément calé sur le cylindre N°1. @+ -
Salut, Une pompe HP pour common rail n'a normalement pas de calage. Elle est juste faite pour mettre en pression la rampe commune. L'avance est gérée par l'ECU qui commande électriquement l'ouverture des injecteurs au bon timing. Tu as des codes panne qui remontent avec VCDS ? @+
-
Pas de voyant moteur quand je tourne la cle
WAUZZZ a répondu à un(e) sujet de Jerome290i dans Electricité / Electronique
Salut, Problème de contacteur de Neiman ? @+ -
Cherche Couleur Jantes Audi a4 b6/b7
WAUZZZ a répondu à un(e) sujet de ChildOfStars dans A4 B6 / A4 B6 Cabriolet - (2001 à 2004)
Salut, Il y a 2 référence manifestement : 4F0 601 025 AF et 4F0 601 025 AFZ17 ... Z17 pour la couleur Argent avus. Je te conseille de faire scanner la peinture de tes jantes par un carrossier et il sera capable de te reproduire la même teinte. @+ -
TDI 110 AFN ne démarre plus après dépose-repose de la pompe à injection.
WAUZZZ a répondu à un(e) sujet de ibra87 dans A4 B5 - (1995 à 2001)
Salut, Il faudrait que tu vérifies à nouveau si l'ergot de l'actuateur de pompe est bien à sa place dans le trou de la bague du tiroir de distribution dans la pompe. J'espère que tu avais fait des marques entre l'actuateur et le corps de pompe pour le repositionner à peu près correctement... Il faut que la tension électrique du piston de pompe soit environ de 1,7V avec VCDS. Bien remplir en gasoil la pompe. Purger en desserrant d'un bon tour les 4 raccords au niveau des injecteurs et attendre que ça gicle par tous les raccords lors des coups de démarreur. Dès qu'un ou plusieurs raccords giclent les resserrer et laisser desserrés encore ceux par lesquels le gasoil ne sort pas. J'espère que tu vas trouver ce qui ne va pas. @+ -
Souci climatisation
WAUZZZ a répondu à un(e) sujet de SafraV6ine dans A4 B6 / A4 B6 Cabriolet - (2001 à 2004)
Ce n'est pas du 12V que reçoit l'EV mais un signal en créneaux dit RCO (Rapport Cyclique d'Ouverture). https://vag-repair.com/rco/ Tu peux peut-être contrôler le pourcentage du RCO avec VCDS... @+ @ -
Souci climatisation
WAUZZZ a répondu à un(e) sujet de SafraV6ine dans A4 B6 / A4 B6 Cabriolet - (2001 à 2004)
Salut, Schéma électrique de la N280 en page 154 de la RTA : ->Alimentation directe de N280 (borne 1) depuis la borne C/3 derrière le panneau de commande de clim E87... ->Masse au point 12 (borne 2 de N280). C'est un signal électrique de type RCO ou rapport d'impulsions comme indiqué en haut de la page 150 (électrovanne du compresseur). En tout cas, aucun relais représenté sur les schémas pages 153 et 154. Les 5 fusibles (S1, S225, S226, S244 et S6) sont-ils bons ? @+ -
Souci climatisation
WAUZZZ a répondu à un(e) sujet de SafraV6ine dans A4 B6 / A4 B6 Cabriolet - (2001 à 2004)
Salut, L'électrovanne sur le compresseur s'appelle N280. Tu peux peut-être la repérer mieux sur le schéma ELEC. Voici un cas avec un problème de câblage au niveau de la N280 : https://www.a3forum.fr/problemes-electrique-electronique-f26/clim-hs-vanne-n280-t37918.html Mais dans l'exemple cité, il y avait un défaut N280 au VCDS. @+ -
Salut, Non, tu ne peux pas : les cardans sont spécifiques à chaque modèle. Il te faut un modèle spécifique au moteur AJM. arbre de transmission - Audi A4/Avant(A4) [EUROPA 1999 année] (7zap.com) En revanche, tu peux ne remplacer que la noix de cardan et son soufflet qui se détaillent. Références pour AJM : 3B0 498 099 B ou 3B0 498 099 BX @+ 46 résultats trouvés pour OEN 3B0498099B - AutoDoc rechercher (auto-doc.fr)
-
Salut, Je n'en suis pas si sûr que toi... Voici un éclaté du circuit de refroidissement du S8 V10 5.2L. Il y a bien des raccords de liquide de refroidissement sur l'alternateur : refroidisseur a refrigerant - Audi A8/S8 quattro(A8Q) [EUROPA 2006 année] (7zap.com) Problème au niveau des joints toriques repère 27 de l'éclaté (dimensions : 13,1X1,6), référence WHT 001 225 ? Apparemment, d'après ce site WHT001225 Baguejoint AUDI Pièce de rechange en ligne WHT001225 (online-pieces.fr) la référence de ces joints toriques a été remplacée par la référence N90783401 Tu trouves cette référence ici : N90783401 ELRING Bague d'étanchéité numéro OE (piecesauto24.com) @+
-
Souci climatisation
WAUZZZ a répondu à un(e) sujet de SafraV6ine dans A4 B6 / A4 B6 Cabriolet - (2001 à 2004)
Salut, Vu les symptômes que tu décris, on dirait qu'il manque le signal "ECON", régime moteur (Engine Increase), Air conditioning Compressor. Voir en bas de la page 83 de ce document relatif à l'A4 B6 : SSP254_END1412_gb.fm (volkspage.net) Il te faudrait la RTA B730 relative à l'A4 B6 pour avoir les schémas électriques de la climatisation : RTA B730 - Revue technique Audi A4 II phase 1 diesel 1.9 et 2.5 TDI (aidetechniqueauto.fr) @+ -
Salut, Voici un lien vers le SSP 183 relatif au moteur V6 TDI : http://www.volkspage.net/technik/ssp/ssp/SSP_183.PDF Je pense qu'il s'agit du capteur de température d'huile G8 ou du capteur de pression d'huile qui se trouve à ses côtés et qui sont montés tous les 2 sur la tuyauterie de lubrification de turbo. En faisant un diagnostic électronique moteur, tu aurais confirmation si c'est bien de ce capteur dont il s'agit (code 00534) : 00534 Transmetteur de température d'huile -G8 "Court-circuit à la masse" est mémorisé lorsque la tension du signal du transmetteur de température d'huile est inférieure à 0,45 V - -G8 défectueux- Le câble présente un court-circuit à la masse - Valeur de substitution fixe- Puissance réduite (protection du moteur) - Contrôler le transmetteur de température d'huile=>page 23-74 "Signal non plausible" est mémorisé lorsque la température du liquide de refroidissement est supérieure à 70 °C alors que la température d'huile est inférieure à 20 °C - -G8 défectueux- Coupure de câble ou câble présente un court-circuit au pôle positif - Valeur de substitution fixe- Puissance réduite (protection du moteur) - Contrôler le transmetteur de température d'huile @+
-
Fixation berceau moteur/boite au chassis bien étrange ? (résolu)
WAUZZZ a répondu à un(e) sujet de cquest dans A4 B5 - (1995 à 2001)
Salut, Ces 2 pattes percées en vis à vis permettent la mise en place d'une pige outillage pour régler le positionnement du berceau par rapport à la caisse. Cela permet de régler le "balancement" du carrossage du train AV. @+ -
Remplacement calculateur ABS Bosch 5.3
WAUZZZ a répondu à un(e) sujet de gimly35 dans A4 B5 - (1995 à 2001)
Salut, De mémoire, le codage n'est pas possible sur les calculateurs ABS Bosch 5.3. Les options du calculateur sont directement liées à la référence du calculateur. Il faut donc que le suffixe de la référence soit exactement le même. Le remplacement par un calculateur d'occasion est risqué sachant que le nouveau peut être en panne aussi. Si j'étais dans votre cas, je ferais réparer le calculateur. Le défaut 65535 est généralement lié à des micro-fils qui ont lâché. ces fils sont noyés dans du gel et la réparation par un non initié semble très compliquée. Voici un lien pour faire réparer pour 150 euros le calculo suite au défaut 65535 : https://ecu.fr/audi/calculateur-abs-esp-asr/abs-asr-abd-5.3/audi-8e0998375a-bosch-1273004283-117559.html A savoir qu'on peut continuer de rouler sans le calculateur le temps qu'il est en réparation. Il faut juste bien protéger le module hydraulique pour éviter l'introduction de corps étrangers. @+ -
Salut, Le FAP du banc 1 (culasse du côté droit / passager) semble saturé en suie. Il est probable que la régénération ne se fasse pas du fait du taux d'encrassement trop important. J'ai vu qu'il existait un produit de la marque Xenum (DPF) qui permet un dés-encrassement partiel avant de retenter une régénération avec un outil de diagnostic, ce que te suggérait Ludovic par ailleurs : Voir cette video pour appréhender le principe : https://xenumfrance.com/le-dpf-cleaner-par-glb/ Un lien pour se procurer le produit avec la notice explicative : https://xenumfrance.com/produit/dpf-cleaner/?gclid=CjwKCAjw3K2XBhAzEiwAmmgrAnI92AF2R2DExBgB5k6DMfiwEhw8IgGpMJglu3N1YAjRMVVPYrEaahoC75AQAvD_BwE @+
-
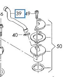
Réference durrite du turbo (opposé à l'échappement)
WAUZZZ a répondu à un(e) sujet de Euphorbe dans A4 B6 / A4 B6 Cabriolet - (2001 à 2004)
Salut, Voici un éclaté de la tubulure d'admission: https://audi.7zap.com/en/rdw/audi+a4+avant/a4/2002-249/1/129-129030/#21 Je pense que c'est le tuyau rep 39 (ref 059 103 221 D) de l'éclaté suivant qui provient du reniflard et qui vient se raccorder au coude rigide : https://audi.7zap.com/en/rdw/audi+a4+avant/a4/2002-249/1/115-115038/ -
APPAIRAGE BOITE VITESSE ECU AUDI A4 V6 2.5 TDI
WAUZZZ a répondu à un(e) sujet de Pierre29100 dans Electricité / Electronique
Salut, Je pense que le codage dans le calculateur moteur est celui d'une boîte de vitesses manuelle. Adresse 01: Moteur Labels: FRM\8E0-907-401.lbl No. pièce: 8E0 907 401 Q Pièce: 2.5l V6 TDI 0000SG 0011 Codage: 02012 Il faudrait vérifier le codage (actuellement 02012). Je te suggère d'ouvrir le lien souligné en bleu concernant le fichier Label "8E0-907-401.lbl". Ce lien est en haut à gauche de l'écran quand tu as accédé au calculateur moteur Tu y trouvera le codage adéquat en fonction du type de boîte. Perso, je verrai plutôt un codage finissant par "1" au lioeu de "2". Je pense que le codage à insérer est 02001 dans ton cas. Quand tu connais la valeur de codage : - accéder au calculateur moteur 01, - sélectionner la fonction "recoder 07", -entrer la valeur et sauvegarder. @+ -
[1.9 TDI 110] - Manque de puissance
WAUZZZ a répondu à un(e) sujet de gizmo06 dans A4 B5 - (1995 à 2001)
Salut, Les symptômes que tu décris ressemblent à un problème de régulation de pression d'admission qui se resettent en coupant le contact. Ce défaut n'allume aucun voyant mais il devrait quand même y avoir le défaut 00575 mémorisé... ce qui ne semble pas être le cas. Ce défaut sur le moteur AFN est très souvent lié à la géométrie variable du turbo qui grippe ou à un défaut d'étanchéité de la tubulure d'admission. @+
| Quelques Liens | |||||||||||||||||||||
|---|---|---|---|---|---|---|---|---|---|---|---|---|---|---|---|---|---|---|---|---|---|
|
Administrateur |
La Charte du Forum |
||||||||||||||||||||
Rappel sur la Diffamation et la Calomnie
La diffusion d’informations fausses ou erronées visant à déstabiliser, voire à compromettre l’intégrité d’autrui, voire même jugée tendancieuse ou malhonnête, pourra être considérée comme de la diffamation pouvant faire valoir nos droits en déposant plainte contre les auteurs de ces propos.
C'est pourquoi, vous êtes tenus de respecter notre Charte d'Utilisation à l'instant même que vous vous trouvez dans ces lieux.
Information
Merci à vous d'être dans ces lieux, de participer et de partager vos expériences dans la communauté des 4 anneaux.
Il est important de ne pas oublier, qu'en naviguant sur cette plateforme et qu'en vous connectant sur AudiPassion, que vous avez lu et accepté notre charte d'utilisation.
Publicité
AudiPassion vit grâce à son référencement par les moteurs de recherche et de la publicité non-intrusive.
L'utilisation de filtres bloquant les scripts de référencement statistique ou l'affichage de bannières publicitaires n'est pas recommandé.
Pour faire vivre le forum gratuitement, nous vous remercions de ne pas activer cette fonctionnalité dans votre navigateur...