Aller au contenu
  • En ligne récemment   0 membre est en ligne

    • Aucun utilisateur enregistré regarde cette page.

Messages recommandés

Posté(e)

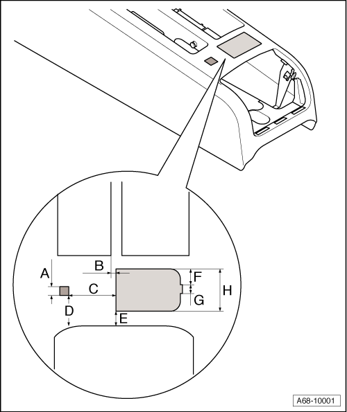
Bonsoir , je voudrais installer un accoudoir OEM sur ma B6 Avant de 2002 , mais je ne sais pas comment faire pour déccoupe la console central au bonnes dimensions , si quelqu'un aurais un patron ou les cotes pour la découpe .

 

Merci d'avance

Posté(e)

normalement en démontant la console centrale il y le patron de découpe de dessiner sous le plastique.

Posté(e)

Salut désole j'avais pas vue ta raison , j'ai regarder pour le patron en démontant la console central mais j'ai rien vue , si tu aurais le patron ça ma rangerais

Merci

 

  • 2 semaines plus tard...
Posté(e)

Le dessins se trouve console retournée, on est d'accord ?

  • 2 semaines plus tard...
Posté(e)

Bonjour,

 

Moi qui avait démonter ma console centrale j'ai chercher mais pas de dessin :S (modèle 2001)

  • 2 mois plus tard...

Créer un compte ou se connecter pour commenter

Vous devez être membre afin de pouvoir déposer un commentaire

Créer un compte

Créez un compte sur notre communauté. C’est facile !

Créer un nouveau compte

Se connecter

Vous avez déjà un compte ? Connectez-vous ici.

Connectez-vous maintenant
×
×
  • Créer...