Aller au contenu
  • En ligne récemment   0 membre est en ligne

    • Aucun utilisateur enregistré regarde cette page.

Messages recommandés

Posté(e)

Bonjour à tous,

 

Tout à l'heure en rentrant chez moi, après un trajet de 90km, mon MMI s'est littéralement bloqué.

J'arrêtais le guidage du GPS (je testais mon lecteur GPS acheté d'occase pour m'assurer que tout remarchait nickel), puis après ça impossible de faire quoi que ce soit.

 

Impossible de rentrer manuellement l'écran du MMI, de passer à la radio, aux CD ou aux réglages de la voiture ... pensant que c'était le GPS qui avait fait bugger l'ensemble, j'ai éjecté le DVD, mais rien de mieux.

En retirant la clé, l'écran est rentré dans son emplacement.

 

En garant la voiture au parking j'ai débranché la batterie, je verrai dans 3 jours quand je devrai la reprendre si c'est rentré dans l’ordre...

 

Ça m'est déjà arrivé que le MMI se bloque, souvent par un bouton coincé... mais je pouvais toujours régler le volume des haut-parleurs dessus. Là, plus rien ! Uniquement depuis le volant.

 

J'ai installé un AMI cet après-midi... en repartant tout marchait parfaitement, et une heure après en arrivant, ça bloque... ça peut venir de mon installation de l'AMI voire du lecteur de DVD du GPS ? Ou rien à voir ?

Posté(e)

As tu passer un coup de valise pour recorder ton lecteur dvd?

Posté(e)

Bonjour Sarti,

 

Déjà tu peux essayer de faire un reset de ton MMI.

Dans 90% des cas cela suffit.

Pour ce faire, il y a une combinaison à faire avec les boutons. De mémoire : appuyer simultanément sur Setup, gros pad et juste à côté du pad haut droit.

Sinon, vérifie ta version et fais une mise à jour car il est possible que les versions de ton MMI et de L'AMI ne soient pas compatible.

Bonne journée à tous.

Posté(e)

As tu passer un coup de valise pour recorder ton lecteur dvd?

 

Hu non... il faut le faire ? Comment ?

 

 

Bonjour Sarti,

 

Déjà tu peux essayer de faire un reset de ton MMI.

Dans 90% des cas cela suffit.

Pour ce faire, il y a une combinaison à faire avec les boutons. De mémoire : appuyer simultanément sur Setup, gros pad et juste à côté du pad haut droit.

Sinon, vérifie ta version et fais une mise à jour car il est possible que les versions de ton MMI et de L'AMI ne soient pas compatible.

Bonne journée à tous.

 

Yep j'ai vu cette manip hier soir, je la ferai si ça ne revient toujours pas.

Sur l'A8 touche Tel + bouton milieu + bouton haut droit.

 

La mise à jour était prévue pour que la voiture reconnaisse l'AMI, ce qui n'est pas actuellement le cas...

Posté(e)

J'ai repris la voiture, MMI toujours bloqué.

 

Quand je met les phares, le MMI ne s'éclaire pas, quand je fais un reset rien ne se passe.... :'(

 

Je vais passer la voiture au vagcom puis j'enlèverai l'AMI... c'est quand même hyper étrange car ça marchait ! Quand on enlève le chargeur CD par exemple, le MMI arrête de fonctionner immédiatement... là non tout fonctionnait pendant 1h30 environ.

Posté(e)

quand j'ai acheté la mienne, elle était déjà équipé du AMI, par contre je n'avais pas la dernière mise à jour du MMI, je l'ai installé par la suite et je n'ai jamais rencontré de problème, j'ai même activé le menu caché. donc je ne pense pas que ton problème soit lié à la mise à jour :icon_wink:

Posté(e)

Surtout que je n'avais pas encore mis à jour le MMI !

J'avais juste branché l'AMI, je m'étais basé sur ce site : http://ludocar.free.fr/Audimodif/Audimodif/MMI_2G/Entrees/2011/11/11_Installation_AMI_Audi_music_interface.html

 

Ils conseillent bien de mettre à jour le MMI qu'après, pour éventuellement mettre à jour l'AMI en même temps.

 

Là je comprends plus rien et suis perdu.

Je suis allé débrancher l'AMI, remettre comme avant avec uniquement le chargeur CD. Il est bien alimenté, clignote, mais les boutons de commande ne répondent toujours pas.

 

J'ai fait un vagcom, supprimé tous les codes d'erreur, refait un scan et ça me donne ça (attention ça pique) :

[...]
01-Moteur -- Etat: Défaut 0010
[...]
03-Freins ABS -- Etat: Défaut 0010
[...]
07-Affichage/Cmde -- Etat: Défaut 1010
08-Climatronic -- Etat: Défaut 0010
[...]
0E-Lect. multiméd. 1 -- Etat: Non enregistré 0001
15-Airbags -- Etat: Défaut 0010
[...]
19-Gateway CAN -- Etat: Défaut 0010
1E-Lect. multiméd. 2 -- Etat: Erreur sporatique de communication 1000
[...]
37-Navigation -- Etat: Défaut 1010
[...]
46-Module confort -- Etat: Défaut 0010
47-Sonorisation -- Etat: Défaut 1010
4F-Centrale Elect. II -- Etat: Défaut 0010
52-Porte passager -- Etat: Défaut 0010
53-Frein de stationnt -- Etat: Défaut 0010
[...]
56-Radio -- Etat: Erreur sporatique de communication 1000
57-Tuner TV -- Etat: Erreur sporatique de communication 1000
61-Régul. batterie -- Etat: Défaut 0010
62-Porte AR gauche -- Etat: Défaut 0010
65-Pression pneus -- Etat: Impossible à contacter 1100
72-Porte AR droite -- Etat: Défaut 0010
76-Aide au stationnt -- Etat: Défaut 0010
 
-------------------------------------------------------------------------------
Adresse 01: Moteur        Labels: 077-910-560-BFM.lbl
   No. pièce Log: 4E0 910 560 E    Mat: 4E0 907 560 
   Pièce: 4.2L V8/5V      G   0040  
   Révision: 00000000    No. de série: AUX3Z0C0108166
   Codage: 0011773
   No. Atelier: WSC 02808 995 88328
   VCID: 23459D3BE2F6492643-8076

5 Codes défaut trouvés:
18010 - Alimentation en tension borne 30 Tension trop faible 
            P1602 - 002 -  - Intermittent
Tests passés: 0000 0001

-------------------------------------------------------------------------------
[...]
Adresse 03: Freins ABS        Labels: 4E0-910-517.lbl
   No. pièce Log: 4E0 910 517 A    Mat: 4E0 614 517 E
   Pièce: ESP 5.7 allrad  H29 0420  
   Codage: 0008597
   No. Atelier: WSC 02313 000 00000
   VCID: 21499733F8EA5B3651-8074

1 Code défaut trouvé:
01826 - Transmetteur d´angle de braquage (G85):alim. en courant borne 30 
            000 - - - Intermittent

-------------------------------------------------------------------------------
[...]
Adresse 07: Affichage/Cmde        Labels: 4E0-910-7xx-07.lbl
   No. pièce Log: 4E0 910 729 A    Mat: 4E0 035 729 A
   Pièce: Interfacebox    H43 0290  
   Révision: 00000000    No. de série: 300LJ027514175
   Codage: 0000006
   No. Atelier: WSC 02800 995 88505
   VCID: 2643842F91C4BC0E24-8072

2 Codes défaut trouvés:
01325 - Calculateur de surveillance de pression de pneu (J502) 
            004 - Aucun(e) signal / communication
             Capture:
                    Etat du défaut: 01100100
                    Priorité du défaut: 5
                    Fréquence du défaut: 95
                    Compteur de RAZ: 18
                    Kilometrage: 181800 km
                    Heure: 0
                    Date: 2016.05.09
                    Temps: 19:10:22

00384 - Bus de données optique 
            011 - Coupure - Intermittent
             Capture:
                    Etat du défaut: 00101011
                    Priorité du défaut: 5
                    Fréquence du défaut: 83
                    Compteur de RAZ: 255
                    Heure: 1


-------------------------------------------------------------------------------
Adresse 08: Climatronic        Labels: Aucun
   No. pièce Log: 4E0 910 043     Mat: 4E0 820 043 
   Pièce: KLIMAAUTOMAT    015 0190  
   Révision: 00000013    No. de série: 00000000010312
   Codage: 0004121
   No. Atelier: WSC 02311 785 00200
   VCID: 5ABBE0DF953CC8EE50-800E

9 Codes défaut trouvés:
00728 - Potentiomètre dans le servomoteur d´aérateur central gauche (G136) 
            010 - Rupture/c.c. au pôle + - Intermittent
             Capture:
                    Etat du défaut: 00101010
                    Priorité du défaut: 3
                    Fréquence du défaut: 11
                    Compteur de RAZ: 73
                    Kilometrage: 182186 km
                    Heure: 0
                    Date: 2016.05.19
                    Temps: 15:30:45

             Capture:
                    Tension: 13.30 V
                    (sans unité): 0.0
                    (sans unité): 0.0

01087 - Réglage de base non effectué 
            005 - Réglage de base / adaptation inexistant ou erroné
             Capture:
                    Etat du défaut: 01100101
                    Priorité du défaut: 2
                    Fréquence du défaut: 1
                    Compteur de RAZ: 31
                    Kilometrage: 182186 km
                    Heure: 0
                    Date: 2016.05.19
                    Temps: 15:30:00

00735 - Potentiomètre dans le servomoteur de volet d´air recyclé (G143) 
            010 - Rupture/c.c. au pôle + - Intermittent
             Capture:
                    Etat du défaut: 00101010
                    Priorité du défaut: 3
                    Fréquence du défaut: 13
                    Compteur de RAZ: 73
                    Kilometrage: 182186 km
                    Heure: 0
                    Date: 2016.05.19
                    Temps: 15:30:45

             Capture:
                    Tension: 13.30 V
                    (sans unité): 199.0
                    (sans unité): 255.0

00066 - Elément de chauffageau niveau du plancher arrière droite (Z43) 
            012 - Défaut électrique dans le circuit électrique
             Capture:
                    Etat du défaut: 01101100
                    Priorité du défaut: 3
                    Fréquence du défaut: 25
                    Compteur de RAZ: 34
                    Kilometrage: 182186 km
                    Heure: 0
                    Date: 2016.05.19
                    Temps: 15:30:46

             Capture:
                    Tension: 13.30 V

00600 - Potentiomètre -servomoteur pour volet de température (G92) 
            010 - Rupture/c.c. au pôle + - Intermittent
             Capture:
                    Etat du défaut: 00101010
                    Priorité du défaut: 3
                    Fréquence du défaut: 11
                    Compteur de RAZ: 73
                    Kilometrage: 182187 km
                    Heure: 0
                    Date: 2016.05.20
                    Temps: 14:25:52

             Capture:
                    Tension: 13.70 V
                    (sans unité): 123.0
                    (sans unité): 255.0

01870 - Potentiomètre servomoteur volet air chaud/froid diffuseur AR D (G352) 
            010 - Rupture/c.c. au pôle + - Intermittent
             Capture:
                    Etat du défaut: 00101010
                    Priorité du défaut: 3
                    Fréquence du défaut: 5
                    Compteur de RAZ: 73
                    Kilometrage: 182190 km
                    Heure: 0
                    Date: 2016.05.20
                    Temps: 14:31:46

             Capture:
                    Tension: 13.60 V
                    (sans unité): 125.0
                    (sans unité): 255.0

02021 - Tension d´alimentation de l´élément chauffant au plancher AR D 
            002 - Limite inférieure non atteinte - Intermittent
             Capture:
                    Etat du défaut: 00100010
                    Priorité du défaut: 3
                    Fréquence du défaut: 5
                    Compteur de RAZ: 73
                    Kilometrage: 182200 km
                    Heure: 0
                    Date: 2016.05.20
                    Temps: 17:18:40

             Capture:
                    Tension: 12.00 V

00065 - Elément de chauffage au niveau du plancher arrière gauche (Z42) 
            012 - Défaut électrique dans le circuit électrique - Intermittent
             Capture:
                    Etat du défaut: 00101100
                    Priorité du défaut: 3
                    Fréquence du défaut: 1
                    Compteur de RAZ: 73
                    Kilometrage: 182212 km
                    Heure: 0
                    Date: 2016.05.23
                    Temps: 11:06:07

             Capture:
                    Tension: 13.60 V

00732 - Potentiomètre dans le servomoteur de volet au plancher droit (G140) 
            010 - Rupture/c.c. au pôle + - Intermittent
             Capture:
                    Etat du défaut: 00101010
                    Priorité du défaut: 3
                    Fréquence du défaut: 1
                    Compteur de RAZ: 73
                    Kilometrage: 182424 km
                    Heure: 0
                    Date: 2016.05.23
                    Temps: 20:53:49

             Capture:
                    Tension: 12.30 V
                    (sans unité): 123.0
                    (sans unité): 255.0


-------------------------------------------------------------------------------
[...]
Adresse 15: Airbags        Labels: 4E0-910-655-84.lbl
   No. pièce Log: 4E0 910 655     Mat: 4E0 959 655 
   Pièce: Airbag 8.4E+    H08 0840  
   Codage: 0431707
   No. Atelier: WSC 02313 785 00200
   VCID: 63C5DD3BA276092603-8036

2 Codes défaut trouvés:
01228 - Commande à clé pour désactivation d´airbag côté passager AV (E224) 
            010 - Rupture/c.c. au pôle + - Intermittent
01228 - Commande à clé pour désactivation d´airbag côté passager AV (E224) 
            010 - Rupture/c.c. au pôle + - Intermittent

-------------------------------------------------------------------------------
[...]
Adresse 19: Gateway CAN        Labels: 4E0-910-468.clb
   No. pièce Log: 4E0 910 468     Mat: 4E0 907 468 A
   Pièce: Gateway         H06 0040  
   Révision: 06          No. de série: 0000303117064F
   Codage: FCFE7FDD2B2504
   No. Atelier: WSC 08330 995 06681
   VCID: 65C1C323AC427716ED-8030

8 Codes défaut trouvés:
01325 - Calculateur de surveillance de pression de pneu (J502) 
            004 - Aucun(e) signal / communication
             Capture:
                    Etat du défaut: 01100100
                    Priorité du défaut: 2
                    Fréquence du défaut: 153
                    Compteur de RAZ: 35
                    Kilometrage: 181800 km
                    Heure: 0
                    Date: 2016.05.09
                    Temps: 12:52:57

00470 - Bus de données Groupe Syst. confort en fil unique 
            011 - Coupure - Intermittent
             Capture:
                    Etat du défaut: 00101011
                    Priorité du défaut: 3
                    Fréquence du défaut: 2
                    Compteur de RAZ: 73
                    Kilometrage: 182186 km
                    Heure: 0
                    Date: 2016.05.19
                    Temps: 15:33:47

00459 - Calculateur unité d´affich. et de comm. du syst. d´info. AV (J523) 
            004 - Aucun(e) signal / communication - Intermittent
             Capture:
                    Etat du défaut: 00100100
                    Priorité du défaut: 3
                    Fréquence du défaut: 3
                    Compteur de RAZ: 74
                    Kilometrage: 182338 km
                    Heure: 0
                    Date: 2016.05.23
                    Temps: 16:48:59

00463 - Calculateur du processeur d´ambiance sonore DSP (J525) 
            004 - Aucun(e) signal / communication - Intermittent
             Capture:
                    Etat du défaut: 00100100
                    Priorité du défaut: 3
                    Fréquence du défaut: 3
                    Compteur de RAZ: 74
                    Kilometrage: 182338 km
                    Heure: 0
                    Date: 2016.05.23
                    Temps: 16:48:59

02077 - Mediaplayer Position 2 (R119) 
            004 - Aucun(e) signal / communication - Intermittent
             Capture:
                    Etat du défaut: 00100100
                    Priorité du défaut: 3
                    Fréquence du défaut: 2
                    Compteur de RAZ: 74
                    Kilometrage: 182338 km
                    Heure: 0
                    Date: 2016.05.23
                    Temps: 16:48:59

01304 - autoradio 
            004 - Aucun(e) signal / communication - Intermittent
             Capture:
                    Etat du défaut: 00100100
                    Priorité du défaut: 3
                    Fréquence du défaut: 3
                    Compteur de RAZ: 74
                    Kilometrage: 182338 km
                    Heure: 0
                    Date: 2016.05.23
                    Temps: 16:48:59

00467 - Tuner TV (R78) 
            004 - Aucun(e) signal / communication - Intermittent
             Capture:
                    Etat du défaut: 00100100
                    Priorité du défaut: 3
                    Fréquence du défaut: 3
                    Compteur de RAZ: 74
                    Kilometrage: 182338 km
                    Heure: 0
                    Date: 2016.05.23
                    Temps: 16:48:59

01300 - Calculateur pour système de navigation avec lecteur de CD (J401) 
            004 - Aucun(e) signal / communication - Intermittent
             Capture:
                    Etat du défaut: 00100100
                    Priorité du défaut: 3
                    Fréquence du défaut: 4
                    Compteur de RAZ: 74
                    Kilometrage: 182338 km
                    Heure: 0
                    Date: 2016.05.23
                    Temps: 16:48:59


-------------------------------------------------------------------------------
[...]
Adresse 34: Correct. assiette        Labels: 4E0-910-553.lbl
   No. pièce Log: 4E0 910 553 C    Mat: 4E0 907 553 C
   Pièce: LUFTFDR.-CDC    H03 4190  
   Codage: 0015500
   No. Atelier: WSC 02313 785 00200
   VCID: 23459D3BE2F6492643-8076

2 Codes défaut trouvés:
00668 - Tension de bord borne 30 
            009 - Rupture/c.c. à la masse
             Capture:
                    Etat du défaut: 11101001
                    Priorité du défaut: 2
                    Fréquence du défaut: 2
                    Compteur de RAZ: 0
                    Kilometrage: 0 km
                    Heure: 0

00778 - Transmetteur d´angle de braquage (G85) 
            008 - Signal Implausible - Intermittent
             Capture:
                    Etat du défaut: 00101000
                    Priorité du défaut: 3
                    Fréquence du défaut: 2
                    Compteur de RAZ: 74
                    Kilometrage: 181964 km
                    Heure: 0
                    Date: 2016.05.13
                    Temps: 14:42:48


-------------------------------------------------------------------------------
[...]
Adresse 37: Navigation        Labels: 4E0-910-88x-37.lbl
   No. pièce Log: 4E0 910 887 C    Mat: 4E0 919 887 C
   Pièce: MNS ECE         H45 0350  
   Révision: 00000000    No. de série: 305JN057641442
   No. Atelier: WSC 02323 785 00200
   VCID: 2D517B03B4328F56E5-8078

1 Code défaut trouvé:
00447 - Limitation du fonctionnement due à une surtension 
            009 - Rupture/c.c. à la masse - Intermittent
             Capture:
                    Etat du défaut: 00101001
                    Priorité du défaut: 7
                    Fréquence du défaut: 31
                    Compteur de RAZ: 115
                    Kilometrage: 37576 km
                    Heure: 0
                    Date: 2032.08.20
                    Temps: 04:58:60


-------------------------------------------------------------------------------
Adresse 38: Electr. de toît        Labels: 4E0-910-135.lbl
   No. pièce Log: 4E0 910 135 A    Mat: 4E0 907 135 A
   Pièce: Dachknoten D3   H01 0070  
   No. de série: 00000302100028
   Codage: 0134532
   No. Atelier: WSC 02313 785 00200
   VCID: 1D31ABC3C4927FD675-8048

1 Code défaut trouvé:
01370 - Alarme déclenchée par la surveillance de l´habitacle 
            000 - - - Intermittent
             Capture:
                    Etat du défaut: 00100000
                    Priorité du défaut: 0
                    Fréquence du défaut: 2
                    Compteur de RAZ: 68
                    Kilometrage: 181832 km
                    Heure: 0
                    Date: 2016.05.11
                    Temps: 16:31:00

             Capture:
                    Bits: 00000000


-------------------------------------------------------------------------------
[...]
Adresse 46: Module confort        Labels: 4E0-910-289.lbl
   No. pièce Log: 4E0 910 289     Mat: 4E0 907 289 
   Pièce: Komfortgeraet   H02 0050  
   Codage: 0004184
   No. Atelier: WSC 02800 995 88505
   VCID: 66C3C42F51447C0EE4-8032

   Sous-système 1 - No. pièce: 4E0 907 719 
   Pièce: Neigungssensor  H01 0020

2 Codes défaut trouvés:
01134 - Avertisseur d´alerte (H12) 
            004 - Aucun(e) signal / communication
             Capture:
                    Etat du défaut: 01100100
                    Priorité du défaut: 3
                    Fréquence du défaut: 254
                    Compteur de RAZ: 35
                    Kilometrage: 99483 km
                    Heure: 0
                    Date: 2009.02.24
                    Temps: 16:12:27

             Capture:
                    Brut, Form. N/D: 000 000 000
                    Brut, Form. N/D: 000 000 000
                    Brut, Form. N/D: 000 000 000
                    Brut, Form. N/D: 000 000 000
                    Brut, Form. N/D: 000 000 000
                    Brut, Form. N/D: 000 000 000
                    Brut, Form. N/D: 000 000 000

00892 - Touche de déverrouillage barillet de hayon (F248) 
            007 - c.c. à la masse - Intermittent
             Capture:
                    Etat du défaut: 00100111
                    Priorité du défaut: 3
                    Fréquence du défaut: 20
                    Compteur de RAZ: 74
                    Kilometrage: 181833 km
                    Heure: 0
                    Date: 2016.05.11
                    Temps: 16:24:51

             Capture:
                    Brut, Form. N/D: 000 000 000
                    Brut, Form. N/D: 000 000 000
                    Brut, Form. N/D: 000 000 000
                    Brut, Form. N/D: 000 000 000
                    Brut, Form. N/D: 000 000 000
                    Brut, Form. N/D: 000 000 000
                    Brut, Form. N/D: 000 000 000


-------------------------------------------------------------------------------
Adresse 47: Sonorisation        Labels: 4E0-910-223.lbl
   No. pièce Log: 4E0 910 223     Mat: 4E0 035 223 
   Pièce: Amp.-Basis      H42 0110  
   Révision: 00000000    No. de série: 00000037510032
   Codage: 0000006
   No. Atelier: WSC 02313 785 00200
   VCID: 5ABBE0DF953CC8EE50-800E

2 Codes défaut trouvés:
00384 - Bus de données optique 
            011 - Coupure - Intermittent
             Capture:
                    Etat du défaut: 00101011
                    Priorité du défaut: 5
                    Fréquence du défaut: 4
                    Compteur de RAZ: 74
                    Kilometrage: 182338 km
                    Heure: 0
                    Date: 2016.05.23
                    Temps: 18:09:00

01299 - Interface de diagnostic(gateway) pour bus de données (J533) 
            004 - Aucun(e) signal / communication - Intermittent
             Capture:
                    Etat du défaut: 00100100
                    Priorité du défaut: 5
                    Fréquence du défaut: 1
                    Compteur de RAZ: 74
                    Kilometrage: 182338 km
                    Heure: 0
                    Date: 2016.05.23
                    Temps: 19:10:56


-------------------------------------------------------------------------------
Adresse 4F: Centrale Elect. II        Labels: Aucun
   No. pièce Log: 4E0 910 280     Mat: 4E0 907 280 A
   Pièce: ILM Beifahrer   H06 0050  
   Révision:             No. de série: 00000000008808
   Codage: 0010111
   No. Atelier: WSC 02311 785 00200
   VCID: 5DB1EBC384123FD635-8008

   Sous-système 1 - No. pièce: 4E0 910 511 
   Pièce: UGDO HL ECE     H04 0030

   Sous-système 2 - No. de série: 951Z†VK4975T06

1 Code défaut trouvé:
01320 - Calculateur du Climatronic (J255) 
            004 - Aucun(e) signal / communication - Intermittent
             Capture:
                    Etat du défaut: 00100100
                    Priorité du défaut: 3
                    Fréquence du défaut: 10
                    Compteur de RAZ: 74
                    Kilometrage: 182336 km
                    Heure: 0
                    Date: 2016.05.23
                    Temps: 16:48:00


-------------------------------------------------------------------------------
Adresse 52: Porte passager        Labels: 4E1-910-802-52.lbl
   No. pièce Log: 4E1 910 802     Mat: 4E1 959 802 
   Pièce: Türsteuer.BF BRM004 0080  
   Codage: 0027429
   No. Atelier: WSC 02311 785 00200
   VCID: 5EB3ECCF891424CE2C-800A

3 Codes défaut trouvés:
00470 - Bus de données Groupe Syst. confort en fil unique 
            004 - Aucun(e) signal / communication - Intermittent
             Capture:
                    Etat du défaut: 00100100
                    Priorité du défaut: 2
                    Fréquence du défaut: 2
                    Compteur de RAZ: 73
                    Kilometrage: 182208 km
                    Heure: 0
                    Date: 2016.05.23
                    Temps: 09:39:24

02115 - Unité de fermeture du verrouillage central 
            008 - Signal Implausible - Intermittent
             Capture:
                    Etat du défaut: 00101000
                    Priorité du défaut: 2
                    Fréquence du défaut: 14
                    Compteur de RAZ: 75
                    Kilometrage: 182416 km
                    Heure: 0
                    Date: 2002.09.13
                    Temps: 00:17:40

01482 - Moteurs de verrouillage central 
            006 - c.c. au pôle + - Intermittent
             Capture:
                    Etat du défaut: 00100110
                    Priorité du défaut: 2
                    Fréquence du défaut: 4
                    Compteur de RAZ: 75
                    Kilometrage: 182416 km
                    Heure: 0
                    Date: 2002.09.13
                    Temps: 01:02:62


-------------------------------------------------------------------------------
Adresse 53: Frein de stationnt        Labels: 4E0-910-801.clb
   No. pièce Log: 4E0 910 801 A    Mat: 4E0 907 801 
   Pièce: EPB  AV1C1010   H01 1010  
   Révision: AV1C1010    
   Codage: 0000531
   No. Atelier: WSC 02800 995 88505
   VCID: 1D31ABC3C4927FD675-8048

2 Codes défaut trouvés:
02596 - Garnitures de frein AR usées 
            002 - Limite inférieure non atteinte
             Capture:
                    Etat du défaut: 01100010
                    Priorité du défaut: 6
                    Fréquence du défaut: 38
                    Compteur de RAZ: 31
                    Kilometrage: 182184 km
                    Heure: 0
                    Date: 2016.05.19
                    Temps: 15:24:00

             Capture:
                    Tension: 10.66 V
                    Décompte: 60

02596 - Garnitures de frein AR usées 
            008 - Signal Implausible
             Capture:
                    Etat du défaut: 01111000
                    Priorité du défaut: 6
                    Fréquence du défaut: 3
                    Compteur de RAZ: 23
                    Heure: 0

             Capture:
                    Tension: 9.21 V
                    Décompte: 61


-------------------------------------------------------------------------------
[...]
Adresse 61: Régul. batterie        Labels: 4E0-910-181.lbl
   No. pièce Log: 4E0 910 181 C    Mat: 4E0 915 181 C
   Pièce: J0644 BEM       H12 0550  
   Révision: 00000000    No. de série: 00000000016677
   No. Atelier: WSC 00000 000 00000
   VCID: 204F9237F3E0523E5E-8074

   Sous-système 1 - No. pièce: 000 915 105 AK
   Pièce: von VA0  2608151329       
   Codage: 303030393135313035414B56413032363038313531333239
   No. Atelier: WSC 02800 995 88505

1 Code défaut trouvé:
02256 - Courant de repos 
            001 - Valeur limite supérieure dépassée - Intermittent
             Capture:
                    Etat du défaut: 00110001
                    Priorité du défaut: 7
                    Fréquence du défaut: 1
                    Compteur de RAZ: 61
                    Kilometrage: 181833 km
                    Heure: 0
                    Date: 2016.05.12
                    Temps: 05:18:48


-------------------------------------------------------------------------------
Adresse 62: Porte AR gauche        Labels: 4E0-910-802.lbl
   No. pièce Log: 4E0 910 802     Mat: 4E0 959 801 A
   Pièce: Türsteuer.HL BRM004 0080  
   Codage: 0027429
   No. Atelier: WSC 02311 785 00200
   VCID: 5DB1EBC384123FD635-8008

1 Code défaut trouvé:
02115 - Unité de fermeture du verrouillage central 
            008 - Signal Implausible - Intermittent
             Capture:
                    Etat du défaut: 00101000
                    Priorité du défaut: 2
                    Fréquence du défaut: 7
                    Compteur de RAZ: 73
                    Kilometrage: 182208 km
                    Heure: 0
                    Date: 2016.05.21
                    Temps: 12:21:62


-------------------------------------------------------------------------------
Adresse 65: Pression pneus
Impossible à contacter

-------------------------------------------------------------------------------
Adresse 72: Porte AR droite        Labels: 4E0-910-802.lbl
   No. pièce Log: 4E0 910 802     Mat: 4E0 959 802 A
   Pièce: Türsteuer.HR BRM004 0080  
   Codage: 0027429
   No. Atelier: WSC 02311 785 00200
   VCID: 5DB1EBC384123FD635-8008

1 Code défaut trouvé:
02115 - Unité de fermeture du verrouillage central 
            008 - Signal Implausible - Intermittent
             Capture:
                    Etat du défaut: 00101000
                    Priorité du défaut: 2
                    Fréquence du défaut: 1
                    Compteur de RAZ: 74
                    Kilometrage: 0 km
                    Heure: 0


-------------------------------------------------------------------------------
Adresse 76: Aide au stationnt        Labels: 4E0-910-283.lbl
   No. pièce Log: 4E0 910 283     Mat: 4E0 919 283 A
   Pièce: Parkhilfe 8-Kan H07 0030  
   Codage: 0001008
   No. Atelier: WSC 02313 785 00200
   VCID: 60CFD237B360123E1E-8034

1 Code défaut trouvé:
01543 - Vibreur d´alerte pour aide au stationnement (H15) 
            009 - Rupture/c.c. à la masse
             Capture:
                    Etat du défaut: 01101001
                    Priorité du défaut: 3
                    Fréquence du défaut: 1
                    Compteur de RAZ: 18
                    Kilometrage: 181800 km
                    Heure: 0
                    Date: 2016.05.09
                    Temps: 12:55:13


Fin-------------------------(Temps écoulé: 03:22)--------------------------

:nixweiss: :mur: :reflexion:

Posté(e)

aie !

Il va peut être falloir jeter la voiture carrément :)

Je suis malheureusement totalement incompétente sur ce coup.

Débrancher carrément la batterie pour tout remettre à zéro ????

Posté(e)

t'as pas un problème avec ta batterie???? es tu sur qu'elle est bonne

 

verifie sa tension le matin avant de demarrer, elle doit être à 12.4v minimum

Posté(e)

Il semblerait que ce soit ton lecteur GPS qui fou le merdier


Essaye de remettre l'ancien ?

Posté(e)

J'ai remis l'ancien GPS et l'ancien chargeur CD mais pas d'amélioration...

Posté(e)

J'ai testé le bus optique, tout est OK c'est donc pas un défaut du réseau...

 

J'ai effacé l'ensemble des codes d'erreurs, refait un test, et voilà ce qui sort :

07-Affichage/Cmde -- Etat: OK 0000
08-Climatronic -- Etat: Défaut 0010
19-Gateway CAN -- Etat: Défaut 0010
34-Correct. assiette -- Etat: OK 0000
37-Navigation -- Etat: Défaut 0010
46-Module confort -- Etat: Défaut 0010
52-Porte passager -- Etat: OK 0000
 
-------------------------------------------------------------------------------
Adresse 07: Affichage/Cmde        Labels: 4E0-910-7xx-07.lbl
   No. pièce Log: 4E0 910 729 A    Mat: 4E0 035 729 A
   Pièce: Interfacebox    H43 0290  
   Codage: 0000006
   No. Atelier: WSC 02800 995 88505
   VCID: 2643842F91C4BC0E24-8072

Pas de défaut trouvé
  ou codes-défaut non implantés dans le calculateur
  ou une erreur de communication a eu lieu

-------------------------------------------------------------------------------
Adresse 08: Climatronic        Labels: Aucun
   No. pièce Log: 4E0 910 043     Mat: 4E0 820 043 
   Pièce: KLIMAAUTOMAT    015 0190  
   Révision: 00000013    No. de série: 00000000010312
   Codage: 0004121
   No. Atelier: WSC 02311 785 00200
   VCID: 5ABBE0DF953CC8EE50-800E

4 Codes défaut trouvés:
00066 - Elément de chauffageau niveau du plancher arrière droite (Z43) 
            012 - Défaut électrique dans le circuit électrique
             Capture:
                    Etat du défaut: 01101100
                    Priorité du défaut: 3
                    Fréquence du défaut: 4
                    Compteur de RAZ: 37
                    Kilometrage: 182528 km
                    Heure: 0
                    Date: 2002.09.14
                    Temps: 02:20:33

             Capture:
                    Tension: 13.00 V

01087 - Réglage de base non effectué 
            005 - Réglage de base / adaptation inexistant ou erroné
             Capture:
                    Etat du défaut: 01100101
                    Priorité du défaut: 2
                    Fréquence du défaut: 1
                    Compteur de RAZ: 31
                    Kilometrage: 182186 km
                    Heure: 0
                    Date: 2016.05.19
                    Temps: 15:30:00

02021 - Tension d´alimentation de l´élément chauffant au plancher AR D 
            002 - Limite inférieure non atteinte - Intermittent
             Capture:
                    Etat du défaut: 00100010
                    Priorité du défaut: 3
                    Fréquence du défaut: 4
                    Compteur de RAZ: 76
                    Kilometrage: 182528 km
                    Heure: 0
                    Date: 2002.09.14
                    Temps: 02:20:33

             Capture:
                    Tension: 13.00 V

00735 - Potentiomètre dans le servomoteur de volet d´air recyclé (G143) 
            010 - Rupture/c.c. au pôle + - Intermittent
             Capture:
                    Etat du défaut: 00101010
                    Priorité du défaut: 3
                    Fréquence du défaut: 1
                    Compteur de RAZ: 76
                    Kilometrage: 182528 km
                    Heure: 0
                    Date: 2002.09.14
                    Temps: 02:20:37

             Capture:
                    Tension: 13.10 V
                    (sans unité): 100.0
                    (sans unité): 255.0


-------------------------------------------------------------------------------
Adresse 19: Gateway CAN        Labels: 4E0-910-468.clb
   No. pièce Log: 4E0 910 468     Mat: 4E0 907 468 A
   Pièce: Gateway         H06 0040  
   Révision: 06          No. de série: 0000303117064F
   Codage: FCFE7FDD2B2504
   No. Atelier: WSC 08330 995 06681
   VCID: 65C1C323AC427716ED-8030

1 Code défaut trouvé:
01325 - Calculateur de surveillance de pression de pneu (J502) 
            004 - Aucun(e) signal / communication
             Capture:
                    Etat du défaut: 01100100
                    Priorité du défaut: 2
                    Fréquence du défaut: 9
                    Compteur de RAZ: 37
                    Kilometrage: 182528 km
                    Heure: 0
                    Date: 2002.09.14
                    Temps: 02:11:38


-------------------------------------------------------------------------------
Adresse 34: Correct. assiette        Labels: 4E0-910-553.lbl
   No. pièce Log: 4E0 910 553 C    Mat: 4E0 907 553 C
   Pièce: LUFTFDR.-CDC    H03 4190  
   Codage: 0015500
   No. Atelier: WSC 02313 785 00200
   VCID: 23459D3BE2F6492643-8076

2 Codes défaut trouvés:
00668 - Tension de bord borne 30 
            009 - Rupture/c.c. à la masse
             Capture:
                    Etat du défaut: 11101001
                    Priorité du défaut: 2
                    Fréquence du défaut: 1
                    Compteur de RAZ: 0
                    Kilometrage: 0 km
                    Heure: 0

01780 - Transmetteur d´assiette du véhicule 
            003 - Défaut mécanique - Intermittent
             Capture:
                    Etat du défaut: 00100011
                    Priorité du défaut: 3
                    Fréquence du défaut: 1
                    Compteur de RAZ: 255
                    Kilometrage: 182529 km
                    Heure: 0
                    Date: 2002.09.14
                    Temps: 02:23:44


-------------------------------------------------------------------------------
Adresse 37: Navigation        Labels: 4E0-910-88x-37.lbl
   No. pièce Log: 4E0 910 888 E    Mat: 4E0 919 887 C
   Pièce: MNS ECE         H41 1050  
   Révision: 00000000    No. de série: 305AF037521394
   No. Atelier: WSC 02313 785 00200
   VCID: 306F6277A300E2BECE-8064

1 Code défaut trouvé:
02927 - Erreur ducture DVD 
            000 - -
             Capture:
                    Etat du défaut: 01100000
                    Priorité du défaut: 6
                    Fréquence du défaut: 6
                    Compteur de RAZ: 37
                    Kilometrage: 182528 km
                    Heure: 0
                    Date: 2002.09.14
                    Temps: 02:11:38

             Capture:
                    Valeur hex: 0x3D82
                    Valeur hex: 0xB8C4
                    Valeur hex: 0x02FF
                    Valeur hex: 0x023A


-------------------------------------------------------------------------------
Adresse 46: Module confort        Labels: 4E0-910-289.lbl
   No. pièce Log: 4E0 910 289     Mat: 4E0 907 289 
   Pièce: Komfortgeraet   H02 0050  
   Codage: 0004184
   No. Atelier: WSC 02800 995 88505
   VCID: 66C3C42F51447C0EE4-8032

   Sous-système 1 - No. pièce: 4E0 907 719 
   Pièce: Neigungssensor  H01 0020

2 Codes défaut trouvés:
01134 - Avertisseur d´alerte (H12) 
            004 - Aucun(e) signal / communication
             Capture:
                    Etat du défaut: 01100100
                    Priorité du défaut: 3
                    Fréquence du défaut: 254
                    Compteur de RAZ: 37
                    Kilometrage: 99483 km
                    Heure: 0
                    Date: 2009.02.24
                    Temps: 16:12:27

             Capture:
                    Brut, Form. N/D: 000 000 000
                    Brut, Form. N/D: 000 000 000
                    Brut, Form. N/D: 000 000 000
                    Brut, Form. N/D: 000 000 000
                    Brut, Form. N/D: 000 000 000
                    Brut, Form. N/D: 000 000 000
                    Brut, Form. N/D: 000 000 000

00892 - Touche de déverrouillage barillet de hayon (F248) 
            007 - c.c. à la masse - Intermittent
             Capture:
                    Etat du défaut: 00100111
                    Priorité du défaut: 3
                    Fréquence du défaut: 2
                    Compteur de RAZ: 77
                    Kilometrage: 182528 km
                    Heure: 0
                    Date: 2002.09.14
                    Temps: 02:13:24

             Capture:
                    Brut, Form. N/D: 000 000 000
                    Brut, Form. N/D: 000 000 000
                    Brut, Form. N/D: 000 000 000
                    Brut, Form. N/D: 000 000 000
                    Brut, Form. N/D: 000 000 000
                    Brut, Form. N/D: 000 000 000
                    Brut, Form. N/D: 000 000 000


-------------------------------------------------------------------------------
Adresse 52: Porte passager        Labels: 4E1-910-802-52.lbl
   No. pièce Log: 4E1 910 802     Mat: 4E1 959 802 
   Pièce: Türsteuer.BF BRM004 0080  
   Codage: 0027429
   No. Atelier: WSC 02311 785 00200
   VCID: 5EB3ECCF891424CE2C-800A

1 Code défaut trouvé:
01482 - Moteurs de verrouillage central 
            006 - c.c. au pôle + - Intermittent
             Capture:
                    Etat du défaut: 00100110
                    Priorité du défaut: 2
                    Fréquence du défaut: 1
                    Compteur de RAZ: 77
                    Kilometrage: 182608 km
                    Heure: 0
                    Date: 2002.09.14
                    Temps: 04:19:50
Posté(e)

Que se passe t'il maintenant lorsque tu met le contact, l'écran sort, tu ne peux toujours pas agir sur les commandes?

 

Si tu avais la radio d'allumé au moment du bug, as tu du son lorsque le système se met en route?

Posté(e)

Quand je met le contact il ne se passe rien.

L'écran ne sort pas, impossible de le faire sortir en appuyant sur le bouton, aucune commande ne répond, la radio ne s'allume pas automatiquement comme avant.

Mais j'ai toujours le régulateur de vitesse par exemple (je ne sais pas si c'est lié ou pas au niveau de l'électronique).

 

Tout est resté comme c'était au moment où tout a buggé : le MMI sur l'écran de navigation, la radio sur la station sélectionnée mais je ne pouvais pas modifier le volume depuis le MMI, uniquement depuis les commandes au volant. Puis quand j'ai coupé le contact, l'écran est rentré dans son emplacement. Puis plus rien.

Posté(e)

As-tu vérifié tout les fusibles, on ne sais jamais :nixweiss:

Posté(e)

Oui j'ai fait le tour des fusibles, y a rien.

 

Maintenant j'ai mes radars de recul qui remarchent de façon aléatoire. C'est du grand n'importe quoi .....

  • 2 semaines plus tard...
Posté(e)

Comme dit dans d'autres posts, j'ai réglé mon soucis de suspension et d'avertisseur de radars. Il me reste plus que le MMI....

 

Nouveau vagcom, il ne me reste que ça :

Adresse 07: Affichage/Cmde
Pas de défaut trouvé
  ou codes-défaut non implantés dans le calculateur
  ou une erreur de communication a eu lieu

Adresse 16: Volant multifonct.
1 Code défaut trouvé:
00003 - Calculateur
            014 - Défectueux/défectueuse(s)
             Capture:
                    Etat du défaut: 01101110
                    Priorité du défaut: 2
                    Fréquence du défaut: 1
                    Compteur de RAZ: 255
                    Kilometrage: 183340 km
                    Heure: 0
                    Date: 2002.09.13
                    Temps: 02:05:57

Si quelqu'un a une idée... je serais tenté de changer l'interface box du MMI.... mais pas sûr à 100% du résultat. Surtout que je risque de tomber sur l'audi component protection.

Posté(e)

Je ne sais pas si les commandes peuvent bloquer le système, dans tout les cas le calculateur est intégré à la commande multifonctions de droite,

 

je serais tenté de te dire d'essayer de les débrancher, ce serait peut être plus rapide en passant par le calculateur de colonne de direction, en déposant

 

le cache inférieur sous le volant puis en débranchant la fiche C, simple supposition pour cette méthode non testée, autrement c'est dépose de l'airbag et repose pour l'essai

 

batterie déconnectée pendant la manip pour l'airbag.

 

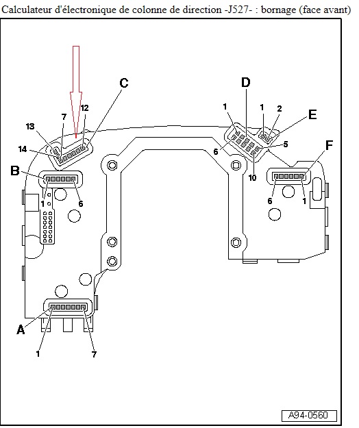
Voici la fameuse prise C du calculateur de colonne de direction, (calculateur qui s'enroule autour de l'axe du volant derrière les commodo) :

 

160619115303217709.jpg

 

 

 

Info sur le VMF:

Remarques générales Des touches sont intégrées au volant de direction afin de faciliter l'utilisation de l'autoradio, du téléphone et des messages du système de navigation. Les véhicules équipés du tiptronic disposent en outre de touches à bascule situées à gauche et à droite sur le volant. Le calculateur du volant de direction multifonction -J453- (sous la touche droite) traite les informations émises par les touches et les transmet via le bus de données LIN (bus unifilaire) au calculateur de l'électronique de colonne de direction -J527-. Par l'intermédiaire du BUS CAN (confort) -J533- et de l'interface de diagnostic du bus de données ces informations -J527- sont ensuite transmises à chaque appareil.

Posté(e)

en lisant ton post j'ai l'impression au depart que tu as un gros pb de batteries car pratiquement tous les codes erreur font reference au + ou au moins ou borne 30 ou borne 31 que sont les + et -

 

verifie bien tes alims

Posté(e)

Ca sent le pb de batterie, tout çà...

 

Elle a déjà été changée ? car durée de vie, environ 5/6 ans max...

Posté(e)

Je ne sais pas si les commandes peuvent bloquer le système, dans tout les cas le calculateur est intégré à la commande multifonctions de droite,

 

je serais tenté de te dire d'essayer de les débrancher, ce serait peut être plus rapide en passant par le calculateur de colonne de direction, en déposant

 

le cache inférieur sous le volant puis en débranchant la fiche C, simple supposition pour cette méthode non testée, autrement c'est dépose de l'airbag et repose pour l'essai

 

batterie déconnectée pendant la manip pour l'airbag.

 

Voici la fameuse prise C du calculateur de colonne de direction, (calculateur qui s'enroule autour de l'axe du volant derrière les commodo) :

 

160619115303217709.jpg

 

 

 

Info sur le VMF:

Remarques générales Des touches sont intégrées au volant de direction afin de faciliter l'utilisation de l'autoradio, du téléphone et des messages du système de navigation. Les véhicules équipés du tiptronic disposent en outre de touches à bascule situées à gauche et à droite sur le volant. Le calculateur du volant de direction multifonction -J453- (sous la touche droite) traite les informations émises par les touches et les transmet via le bus de données LIN (bus unifilaire) au calculateur de l'électronique de colonne de direction -J527-. Par l'intermédiaire du BUS CAN (confort) -J533- et de l'interface de diagnostic du bus de données ces informations -J527- sont ensuite transmises à chaque appareil.

Ok merci je ferai ça.

 

 

Non la batterie est OK. Je l'ai changée en Janvier, je l'ai aussi récemment testée avec un voltimètre, la tension est bonne.

 

Je sens que je vais finir par la déposer à un concessionnaire pour qu'ils fassent un diag...

  • 4 semaines plus tard...
Posté(e)

Devant mon impuissance pour le MMI, je l'ai déposé chez Audi pour un diagnostique.

 

Verdict => c'est le boitier électronique du MMI qui a cramé. C'est ce que je me disais, mais au moins j'ai confirmation.

 

Montant de la facture => environ 1 100€ TTC... j'hésite à le faire réparer.

Je me tâte à en racheter un d'occasion et à le changer moi-même. Mais si c'est incompatible ou qu'il est défectueux ou je ne sais quoi ... ça sera de l'argent jeté par les fenêtres.

Si je récupère la voiture sans la faire réparer, forfait de 220€ pour le diagnostique.

 

Qu'en pensez-vous ?

Posté(e)

Si j'ai bien compris il s'agit du panneau de contrôle soit l'unité de commande E380 avec tout les boutons au niveau du levier de vitesse?

 

Car le calculateur électronique d'informations J794 se trouvant derrière la boîte à gant coûte beaucoup plus cher, Audi demandé un

 

peu moins de 4000€ pour son remplacement a Jerem16 http://forums.audipassion.com/topic/181314-mmi-qui-se-coupe-et-se-rallume-toutes-les-10s/

Posté(e)

Oui c'est bien ça.

 

J'ai vu avec la personne qui a prise en charge la voiture, c'est cette unité de commande, celle est l'accès aux différents menus, réglage de volume, sélectionneur du MMI etc située entre les deux sièges.

 

Du coup je vais en prendre un d'occasion, le changer moi-même et voir ce que ça donne.

 

Je viens de regarder pour avoir la référence exacte de celui que j'ai : 4E1 919 609

Et quand je vais dans ETKA, y en a des dizaines ... pour savoir quelles références je peux chercher, je me base sur quoi ? La période "0802 - 0803" ? Donc en plus je peux chercher 4E1919609BX, 4E1919609B et 4E1919609 X ?

 

Que se passe-t-il si j'en met une autre plus récente comme la 4E1919611F ? Sur la baie j'en ai trouvé un avec cette référence pour environ 100€ ... c'est vendu comme pour une A6 mais cette référence appraît pour l'A8. A ce prix c'est uniquement la carte électronique qui est vendue comme neuve.

 

Merci !

Posté(e)

ce que j'espere c'est qu'il n y aura pas de component protect car obligation case audi et ils refuseront de le faire

Posté(e)

Non pas de protection pour cette élément(elsa ne le mentionne pas en tout cas), après pour les références je pense que l'essentiel est de ne pas prendre

 

un panneau de contrôle pour MMI3G (molette avec joystick), mais y a-t-il une corrélation entre la réf de l'unité principal

 

et le panneau de contrôle, ça n'est pas impossible mais dans ton cas je prends le risque également.

Posté(e)

Ok merci titaa8, c'est déjà ça. :)

 

Cet après-midi j'ai démonté l'unité de commandes pour voir l'état du circuit imprimé => des traces d'oxydations et donc d'eau par endroit. J'ai nettoyé le tout à l'alcool à brûler (on ne sait jamais), mais le MMI n'est pas reparti.

 

Donc j'en ai acheté un d'occase sur eBay, je devrais le recevoir sous 2/3 semaines (ça arrive des États-Unis)... réponse à ce moment-là, mais je dois tenir le bon bout.

Posté(e)

Pas de problème pour changer cette carte, je l'ai fait il y a 2 ans suite à un toit ouvrant laisser ouvert avant une belle averse...

La différence des modèles porte sur la partie physique de la carte qui est différente selon le boitier dans laquelle elle se monte, une modification de la forme du boitier et des attaches a eu lieu je ne sais quand.

J'ai acheté un ensemble carte boitier, pas la carte seule.

Attention il y a aussi les versions avec ou sans keyless et keyless situé à droite ou à gauche sur la console, je m'y suis laissé prendre.

Je confirme pas d'Audi component.

  • 2 semaines plus tard...
Posté(e)

Alléluia !!

 

J'ai reçu ce matin l'unité commandée des États-Unis, j'ai récupéré la carte électronique, donné un petit coup d'alcool pour la nettoyer, remise dans mon boitier (il est en meilleur état que celui acheté).... et le MMI remarche !! :roi: :race:

Je n'ai jamais été aussi content de voir l'écran sortir du tableau de bord. :MdrDevil:

 

Maintenant dernière étape => mettre à jour le MMI pour que l'AMI soit reconnu.

 

J'avais acheté sur eBay un kit de mise à jour sur 3 CD (référence 4L0 998 961) de ce type : http://www.ebay.fr/itm/cd-mise-a-jour-firmware-MMI2G-HIGH-V5570-pour-A6-A8-Q7-4L0-998-961-/322217933908?hash=item4b05af7c54:g:eewAAOSwjXRXZuQW

Y a bien une notice, mais en allemand, j'y comprends rien.

 

C'est donc ces 3 CD qui vont me mettre à jour le MMI. Sauf qu'avec ce CD le vendeur m'avait mit un 4e CD (une copie), référence 4E0 906 961 H... qu'est-ce que je fais avec ?

 

Merci. :)

Posté(e)

de mémoire, je crois que le 4éme cd, il faut le mettre si la version de ton mmi actuel est vraiment trés ancienne

 

sinon, tu aurai du passer me voir, je les avait les cds de mise à jour, je l'avais fait sur la mienne :icon_wink:

Posté(e)

de mémoire, je crois que le 4éme cd, il faut le mettre si la version de ton mmi actuel est vraiment trés ancienne

 

sinon, tu aurai du passer me voir, je les avait les cds de mise à jour, je l'avais fait sur la mienne :icon_wink:

 

Bon je vais voir ça ...

Haha si j'avais su... :oops: peut-être une prochaine :)

 

160809122238294152.jpg

Version du MMI 0290 donc ?

Posté(e)

Content que tu te sois sorti (normalement) de ta galère, sarti. ^^

  • 5 mois plus tard...
Posté(e)

Bonjour SARTI

 

Peux-tu me dire comment tu démontes l'unité de commande pour arriver à voir le N° 4E1 919 609...

J'ai ce problème et j'ai mis un message sur le forum il y a 15 jours.

Une complicité formidable des "Audsites" mais, en regardant les autres pages, je suis tombé sur tes messages...et les mêmes problèmes.

De même pourras-tu m'indiquer l'adresse pour acheter sur eBay. Est-ce sur France?

Merci,

 

Etienne

Posté(e)

Bonjour Étienne,

 

De mémoire c'était inscrit au dos du boitier plastique.

 

Pour l'enlever ça prend 5 min :

- enlever le cendrier, une vis torx (de mémoire) est derrière, faut la dévisser

- mettre la boîte de vitesse automatique sur N

- déclipser le bois en tirant dessus (faut pas voir peur, ça s'enlève d'un coup)

- dévisser les vis qui maintiennent l'ensemble des commandes

 

Je l'ai acheté sur eBay.

Y en avait 2 de disponibles (dans le monde!), un premier à environ 90€ livré des USA et un autre à environ 400€ d'Europe de l'est... !! J'ai eu beaucoup de chances.

Celui des USA avait le boitier plastique endommagé, mais je m'en fichais ce n'était que la carte électronique qui m'intéressait.

 

Après il y en avait aussi qui ne vendaient que les cartes électroniques (une centaine d'euros), mais je n'avais trouvé à l'époque que pour des A6 / A4 principalement... rien pour l'A8. :(

Créer un compte ou se connecter pour commenter

Vous devez être membre afin de pouvoir déposer un commentaire

Créer un compte

Créez un compte sur notre communauté. C’est facile !

Créer un nouveau compte

Se connecter

Vous avez déjà un compte ? Connectez-vous ici.

Connectez-vous maintenant
×
×
  • Créer...