dsts
Utilisateur-
Compteur de contenus
7 427 -
Inscription
-
Dernière visite
-
Jours gagnés
2
Tout ce qui a été posté par dsts
-
RS6 à vendre pas cher.....
dsts a répondu à un(e) sujet de Malikb dans S6 C5 V8 / RS6 C5 V8 / RS6 Plus C5 V8 - (1999 à 2004)
Bonjour, pas dit que l'électronique soit foutu (c'est une loterie), mais tout est à démonter et à sécher, (donc énormément de main d'oeuvre!). Aventure arrivée il y a quelques années à mon beau-frère français: Deux heures du matin, il quitte la maison de mes parents à Virton (Belgique) pour Stenay (55 Meuse). Arrivé dans le village de Chauvency-le Château (où la route n'était à l'époque qu'une succesion de virages) il entre dans un brouillard à couper au couteau. Prudent, il roule très lentement mais ne se rend pas compte qu'il quitte la route principale (merci à la suspension hydropneumatique Citroën, ceci n'est pas une publicité) et prend le chemin privé d'une ferme. Il passe devant la ferme sans la voir et continue le chemin qui se jettait dans la Chiers, endroit de la rivière où les vaches du fermiers allaient s'abreuver! C'est quand sa voiture a pénétré dans la Chiers qu'il s'est rendu compte de sa méprise. Double chance pour lui: il est mécano (moto) et avait 2 Citroën identiques (afin de toujours pouvoir compter sur au moins une). -
[C5]Y a pas : ils ont du gout nos amis belges !
dsts a répondu à un(e) sujet de allroadusa dans A6 C5 / allroad C5 - (1997 à 2005)
Bonjour, La police fédérale belge possède également des A8 (en remplacement des Mercedes S500 et S600v12 DE 1998) pour le transfert de certains prisonniers vers les tribunaux. [attachmentid=8596] Directement en prison sans passer par le "START" (ne touche aucune prime). Bonne route quand même! -
Voir également à infiltration: http://forums.audipassion.com/services/forums...showtopic=14494
-
Pour éviter qu'après une période de temps sec et chaud de l'eau pénètre dans l'habitacle par le toit ouvrant (d'origine), un petit entretien de 5 minutes est souhaitable! [attachmentid=8592][attachmentid=8593] En général votre toit ouvrant d'origine possède 4 tuyaux (AB et CD partant de la goutière interne de votre toit ouvrant et aboutissant entre les 2 charnières des portes avant et EF, et GH partant du bac à eau du toit ouvrant pour aboutir sous la voiture derrière le pare-chocs latéral arrière). Ouvrez complètement votre toit. Pour les tuyaux avant: versez en A et C un demi litre d'eau qui va resortir en B et D. Si les tuyaux sont bouchés: prenez un tire-fils en nylon d'électricien et enfoncez-le dans le tuyau à partir de B et de D afin d'enlever les saletés qui les obstruent. Pour les tuyaux arrières: -Sachez qu'afin d'empêcher les insectes de remonter s'installer dans votre toit ouvrant ou des projections dans les tuyaux ou que votre toit ouvrant ne se transforme en sifflet musical, les extrêmités F et H sont munis d'embouts en caoutchouc dont les lèvres se tiennent fermées. Lorsqu'il y a de l'eau qui pénètre dans les tuyaux, le poids de la colonne d'eau provoque l'ouverture des lèvres. Si de la boue a séché dans les embouts caoutchouc, ceux-ci ne s'ouvrent plus, l'eau s'accumule dans le bac à eau et lorsque le véhicule sera mis en mouvement (ou le bac est plein), cette eau risque de se déverser dans l'habitacle. -Versez un bon demi litre d'eau dans le bac à eau qui va resortir en F et H. Si les tuyaux sont bouchés, par les extrémités F et H (entre le pare-chocs latéral et la carrosserie), introduisez le tire-fils en nylon sur un longueur d'environ 230 cm afin de briser les bouchons qui se sont formés. Quand les tyaux sont débouchés, rincez-les en vidant franchement de l'eau dans la goutière interne du toit. Utilisez un tire-fils car il ne blessera pas vos tuyaux (et pas du câble de frein ou de compteur ou un ressort de débouchage de plombier qui risque de percer le tuyau en plastique souple ou de déboîter les tuyaux du bac à eau!). Profitez-en pour nettoyer les rails (et le mécanisme) du toit ouvrant et les huiler au silicone ou avec un agent de démoulage. Nettoyez également le joint caoutchouc (surtout pour éviter que sa partie veloutée ne verdisse). Si avec les années ce joint de toit d'origine rétrécit, pas de problème; sur un toit ouvrant d'origine le rôle de ce joint est d'empêcher les courant d'air et la pénétration de la poussière. Il n'est pas là pour être 100 % hermétique à l'eau, car le peu d'eau qu'il laisse entrer tombe dans la gouttière interne du toit ouvrant d'origine et est évacuée par les tuyaux d'écoulement. Bonne route!
-
Bonjour, voici la liste des liens donnant l'emplacement et la méthode de remplacement (ainsi que la périodicité et le temps de travail) des filtres d'habitacle Bosch des différents modèles Audi. [attachmentid=8492] Bon travail et bonne route! Liens directs : Audi 80 Audi 100/A6 (C4) Audi A2 Audi A3 1996 (8L) Audi A3 2003 (8P) Audi A4 1994 (B5) Audi A4 2000 (B6) Audi A6 1994 Audi A6 1997 Audi A6 1998 Audi A8 1994 Liens_vers_la_description_du_changement_du_filtre_à_pollen_Bosch_dans_les.doc
-
courroie distribution
dsts a répondu à un(e) sujet de mikemarel dans A4 B6 / A4 B6 Cabriolet - (2001 à 2004)
Bonjour, il suffit de faire la recherche du document exact que l'on désire et le prix pour chaque document en € s'affiche automatiquement (voici par exemple:) https://erwin.audi.com/erWinAudi/docshopFlo...rue&doctype=ALL C'est accessible à tout possesseur de PC relié à internet. Bonne route! -
[D2]Manuel d'entretien ou Revue Technique
dsts a répondu à un(e) sujet de isa24 dans A8 D2 - (1994 à 2002)
Bonjour, vous pouvez vous procurer toute la doc. officielle Audi en français ici: https://erwin.audi.com/erWinAudi/docshopFlo...Action=infoTour Bonne route! -
Kit extérieur S4 pour A4 2.5 V6 S-Line
dsts a répondu à un(e) sujet de StefC30 dans A4 B6 / A4 B6 Cabriolet - (2001 à 2004)
-
Kit extérieur S4 pour A4 2.5 V6 S-Line
dsts a répondu à un(e) sujet de StefC30 dans A4 B6 / A4 B6 Cabriolet - (2001 à 2004)
Bonjour, Comment remplacer les baguettes sur une Audi, c'est ici: http://forums.audipassion.com/services/forums...wtopic=6751&hl= http://forums.audipassion.com/services/forums...topic=13744&hl= Bonne route! -
courroie distribution
dsts a répondu à un(e) sujet de mikemarel dans A4 B6 / A4 B6 Cabriolet - (2001 à 2004)
Bonjour, tout (officiel Audi) en détails et en français ici: https://erwin.audi.com/erWinAudi/ https://erwin.audi.com/erWinAudi/docshopFlo...ction=documents Bonne route! -
5 cylindes 2,2 l
dsts a répondu à un(e) sujet de AudiPlus dans Coupé GT / UR-quattro / Sport quattro
Bonjour, regardez dans votre carnet "Plan d'Entretien Audi" qui vous a été fourni avec votre voiture. Bonne route! -
5 cylindes 2,2 l
dsts a répondu à un(e) sujet de AudiPlus dans Coupé GT / UR-quattro / Sport quattro
Bonjour, la courroie de distribution est un élément primordial du moteur, une casse de celle-ci entraîne des dégâts importants pouvant aller jusqu'à la destruction du moteur. Ne vous contentez pas de réponses vagues. Le tableau Audi précédent reprenant 18 types de moteurs montre bien que chaque type a sa périodicité (vous trouvez le type exact de moteur sous la dénomination "Lettres-repères/Numéro de moteur " sur l'étiquette "Caratéristiques du véhicule" qui se trouve collée soit sous le tapis du coffre ou dans le compartiment roue de secours et également en page 0 du carnet "Plan d'Entretien Audi" qui a été fourni avec votre voiture. Dans ce carnet "Plan d'Entretien Audi ", allez au chapitre "RUBRIQUES D'ENTRETIEN " et vous y trouverez la périodicté exacte de remplacement de la courroie de votre voiture. [attachmentid=7446][attachmentid=7447] Bonne route! -
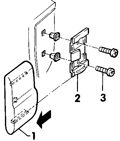
Bonjour, en général, sur les Audi: pour démonter la baguette d'aile avant: 1) déposer la coquille en plastique noir de passage de roue; 2) dévisser la vis de blocage de baguette (à l'arrière de celle-ci); 3) faire glisser la baguette; 4) tirer la baguette vers soi. [attachmentid=7198][attachmentid=7199] Pour les baguettes de porte, voir mon ancien post: http://forums.audipassion.com/services/forums...wtopic=6751&hl= Pour ce qui est de la mini baguette sur l'aile arrière, en général elle est simplement clipsée. Il suffit de glisser une spatule ménagère en plastique (genre Tupperware pour ne pas faire de griffes) entre la baguette et la carrosserie et tirer dessus. [attachmentid=7200] Bonne route!
-
matez moi cet interieur...
dsts a répondu à un(e) sujet de ptitdamien dans S4 B6 / S4 B6 Cabriolet - (2003 à 2006)
Bonjour, le style Audi baseball, c'est différent, par exemple pour un TT, c'est cela: Bonne route! -
Feux d'antibrouillards et reculs uniques ??
dsts a répondu à un(e) sujet de bodu dans Electricité / Electronique
Ce qui précède est valable pour les véhicules arrivant de l'usine avec un seul feu anti brouillard arrière. -
Feux d'antibrouillards et reculs uniques ??
dsts a répondu à un(e) sujet de bodu dans Electricité / Electronique
Bonjour, le bloc optique arrière gauche (français) des A4, A6 etc... est homologué avec feu anti brouillard, mais le bloc arrière droit (français) n'est pas homologué anti brouillard (donc faire sauter le fond prédécoupé et y placer le socket muni de l'ampoule et la raccorder est très facile et plus beau, mais pas légal). Le bloc optique arrière droit anglais est homogué avec feu anti brouillard. Bonne route! -
-
Un pare brise en presque 900.000 km, c'est une question de route, de vitesse et de chance!
-
-
Télécommande a distance pour Audi
dsts a répondu à un(e) sujet de 83PJold dans Electricité / Electronique
"Eh bien, je ne savais pas qu'une telecommande de portes pouvait commander aussi les vitres. Bonjour, pour que la télécommande ferme également les vitres et le toit ouvrant, il faut que le véhicule soit équipé du relais électronique "komfort ". Vous pouvez vérifier avec votre clef dans la serrure. Si vous la maintenez en position fermeture 2 ou 3 secondes, vitres et toit ouvrant se fermeront également si ce fameux relais "komfort" est installé. Par exemple dans les Audi 100/A6 (C4) le relais "komfort" occupe les positions 1 et 2 du support relais qui se trouve à gauche du repose pied du conducteur. [attachmentid=7041] Bonne route! -
Bonjour, lorsque vous choisissez vos boulons anti-vol: n'oubliez pas que chez les marchands d'outillage, pour quelques euros , les voleurs qui ne veulent pas abîmer les jantes achètent des douilles universelles qui sont en vente libre . [attachmentid=6934] Bonne route!
-
soufflet de piston de frein AR
dsts a répondu à un(e) sujet de JLucM dans Electricité / Electronique
Bonjour, le soufflet n'est pas là pour éviter les fuites, c'est le joint qui joue ce rôle. Le soufflet est là pour protéger le joint en empêchant la saleté de pénétrer et de venir se placer sur et entre le cylindre et l'étrier . Je vous conseille de remplacer le soufflet par un nouveau (et par la même occasion mettre le nouveau joint du kit) car lorsque vous verrez un fuite, cela signifiera que votre joint est abîmé, mais dans ce cas le cylindre ou l'étrier risque fort d'être endommagé et ce ne sera plus le kit à 18 € que vous aurez besoin, mais l'échange standard de l'étrier complet, ce qui est quand même plus cher. Bonne route! -
[8P]Kit Single Frame Audi
dsts a répondu à un(e) sujet de loeb35 dans A3 8P / A3 8PA Sportback / A3 Cabriolet - (2004 à 2012)
Pour les A3, Rieger a également du beau matériel, comme caractère. [attachmentid=6827][attachmentid=6828][attachmentid=6829] Bonne route! -
https://erwin.audi.com/erWinAudi/ Bonne route!
-
Bonjour, dans toute la Communauté Européenne, il est interdit de faire fonctionner sur la voie publique le moteur d'un véhicule automobile à l'arrêt sans conducteur. La commande de démarrage à distance peut par contre être utilisée légalement pour la mise en route du chauffage stationnaire (monté réglementairement) Webasto. Bonne route!
| Quelques Liens | |||||||||||||||||||||
|---|---|---|---|---|---|---|---|---|---|---|---|---|---|---|---|---|---|---|---|---|---|
|
Administrateur |
La Charte du Forum |
||||||||||||||||||||
Rappel sur la Diffamation et la Calomnie
La diffusion d’informations fausses ou erronées visant à déstabiliser, voire à compromettre l’intégrité d’autrui, voire même jugée tendancieuse ou malhonnête, pourra être considérée comme de la diffamation pouvant faire valoir nos droits en déposant plainte contre les auteurs de ces propos.
C'est pourquoi, vous êtes tenus de respecter notre Charte d'Utilisation à l'instant même que vous vous trouvez dans ces lieux.
Information
Merci à vous d'être dans ces lieux, de participer et de partager vos expériences dans la communauté des 4 anneaux.
Il est important de ne pas oublier, qu'en naviguant sur cette plateforme et qu'en vous connectant sur AudiPassion, que vous avez lu et accepté notre charte d'utilisation.
Publicité
AudiPassion vit grâce à son référencement par les moteurs de recherche et de la publicité non-intrusive.
L'utilisation de filtres bloquant les scripts de référencement statistique ou l'affichage de bannières publicitaires n'est pas recommandé.
Pour faire vivre le forum gratuitement, nous vous remercions de ne pas activer cette fonctionnalité dans votre navigateur...