Aller au contenu
  • En ligne récemment   0 membre est en ligne

    • Aucun utilisateur enregistré regarde cette page.

Messages recommandés

Posté(e)

Bah j'espère car c'est la seule solution qu'il me reste

 

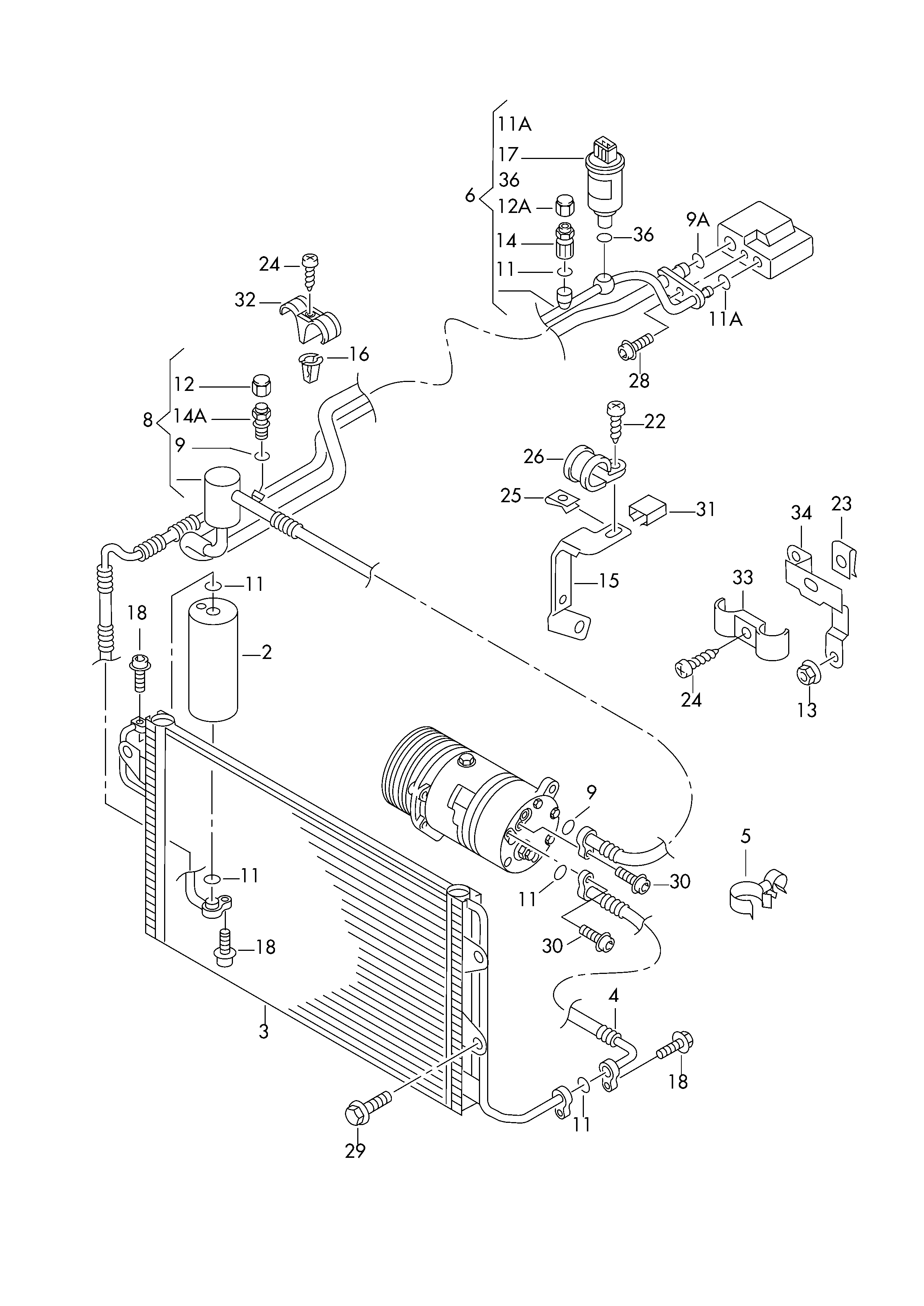
194260410.png

  • Réponses 87
  • Créé
  • Dernière réponse

Classement des membres dans ce topic

Classement des membres dans ce topic

Posté(e)

Je te tiendrai au courant je vais essayer de la démonter ce soir mais je sais pas comment elle est foutue

Posté(e)

Super merci, si en plus tu fais un petit tuto avec des belles photos, ce serait top (ok j'en demande trop) :)

 

Je commanderais quand les finances iront mieux, un peu serré en ce moment.

Posté(e)

Ouais si tu veux mais je sais meme pas comment l'enlever car j'ai pas l'impression que ce soit vissé donc je vois pas trop comment faire ...

Posté(e)

J'avoue que ça me fait un peu peur ce circuit de clim...j'aime pas trop la pression, si je le dévisse et que j’entends un bruit (clac ou autre), je risque de tout laisser tomber par terre :)

Posté(e)

Moi ca va pas de soucis vu que la clim ne marchait pas chez norauto et bah ils m'ont vidé tout le gaz qu'ils ont mis donc plus aucun gaz :)

Posté(e)

Et moi elle a été rechargée....au secoursssss !!!! :)

Posté(e)

ah merde :/

 

Sinon je viens de changer la pièce c'est super simple !!

 

Je te fais un tuto

 

J'ai checké les erreurs et il y en a plus maintenant, reste plus qu'a reprendre rdv chez norauto

Posté(e)

Comme tu dis...même si je sais qu'il y a une valve anti-retour, ça me fait un peu flipper.

Posté(e)

bah tu regarderas les photo que j'ai fait et tu verras mais j'ai meme pas entendu de pchiiit

Posté(e)

ok dès que tu mets les photos j'étudie ça ;)

 

C'est normal pour le pschitttt....tu n'as plus de gaz ;)

Posté(e)

mais je pense que meme toi tu n'auras pas de pschiiit car en fait c'est juste une sonde

Posté(e)

Ha bon....comme le nom c'est pressostat ça fait thermostat et pression, bon s'il n'y a pas de pschiiiiitttt tant mieux ;)

 

Tiens, juste pour info, je viens de changer les photos du Hand Spinner, les photos en place étaient un essai, celles-là sont celles que la personne reçoit :

http://www.objetsbois.com/de-belles-toupies-en-bois/162-hand-spinner-en-bois-et-metal-version-noyer.html

Posté(e)

La deuxième photo le flash crame un peu le haut du handicap spinner

Posté(e)

He oui, j'ai pris la photo tout à l'heure, le soleil était bas...je vais tenter (si j'ai le temps) d'en reprendre demain matin juste avant de l'envoyer.

Posté(e)

La deuxième photo le flash crame un peu le haut du handicap spinner

 

Deuxième photo modifiée...ça va mieux ;)

 

 

Sympa le spinner je montrerait a mon petit si il lui plaît j'en prendrais un

 

C'est sympa ;)

Posté(e)

C'est beaucoup mieux !

 

On voit un peu le photoshop en bas de l'image

 

Désolé je suis pointilleux ;)

Posté(e)

Effectivement....je ne suis pas un pro de photoshop, je l'utilise uniquement pour rendre le fond blanc donc forcément il y a des choses que je n'arrive pas à bien faire...surtout ces ombres...grrrrrr....si j'ai le temps je me ferais une boite avec éclairages pour prendre de belles photos :)

Posté(e)

:)

 

Je viens de le voir, je télécharge pour voir ça de plus près :)

Posté(e)

Ça n'a pas marché le compresseur doit être grippe

Posté(e)

Ha merde !

A mon avis je vais y avoir droit aussi...on ouvrira les fenêtres :)

Posté(e)

Ouais mais ça me fait chier d'avoir dépensé 30€ pour rien

Posté(e)

pas pour rien....pour 1 erreur en moins ;) Ok je sors :)

Posté(e)

Ouais mais quand même :/

Reste plus qu'à trouver un compresseur à la casse

Posté(e)

c'est clair...moi je ne peux pas le faire maintenant, 30€ avec des jumeaux ça part en 2 secondes :)

Posté(e)

Oula je veux bien te croire mais 30€ pour un étudiant c'est pas que ça part vite mais c'est beaucoup

Posté(e)

Tiens un autre étudiant en A3 8L :)

Oh oui, étudiant c'est rien dans les poches ;)

Posté(e)

Le problème de ces voitures c'est que c'est toujours des petites sommes dépensées à droite à gauche 😈

Posté(e)

c'est trop ca quand je fais le compte de tout ce que j'ai dépensé ca monte trop vite et la l'heure des 10 000 kms pour la vidange approche :/

Posté(e)

Huile à 25 et filtre à 5 et c'est reparti 😄

 

En roulant pas mal ça revient à 10cents du km environ

Posté(e)

Tu mets qu'elle huile et quoi comme réf 5/40 ou 10/40

Créer un compte ou se connecter pour commenter

Vous devez être membre afin de pouvoir déposer un commentaire

Créer un compte

Créez un compte sur notre communauté. C’est facile !

Créer un nouveau compte

Se connecter

Vous avez déjà un compte ? Connectez-vous ici.

Connectez-vous maintenant
×
×
  • Créer...