Aller au contenu
  • En ligne récemment   0 membre est en ligne

    • Aucun utilisateur enregistré regarde cette page.

Messages recommandés

Posté(e)

Bonjour à tous.

 

Comme dit dans le titre mon compteur n'affiche plus la vitesse. Ma voiture est una allroad 2.5 v6 tdi avec boite manuelle low range.

 

Ca a commencé avec l'aiguille qui passait de 70kmh à 180, ou n'importe quelle vitesse, et 0kmh par moment, tout ça en maintenant mon allure. Du coup le régulateur ne fonctionne plus non plus, logique. Avec ça j'ai aussi le voyant orange des amortisseurs qui s'affiche au bout de quelques minutes.

 

J'ai voulu regarder si c'est le capteur de vitesse qui a un problème mais je n'arrive pas à trouver des infos sur son emplacement précis.

 

Je dois prendre la route lundi pour traverser le pays pour mon travail donc j'ai besoin de résoudre mon problème au plus vite :mur:

Posté(e)

j'ai eu le meme probleme et j'ai debranché le connecteur du capteur , un coup de WD40 pour degraisser tout ca et sa fonctionne .

le capteur se trouve au dessu du cardant fixé sur la boite coté conducteur

 

170819084153391915227829.png

170819084153391915227828.png

Posté(e)

profites en pour regarder l'etat du faisceau. l'echappement ne doit pas passer loin...

Posté(e)

j'ai eu le meme probleme et j'ai debranché le connecteur du capteur , un coup de WD40 pour degraisser tout ca et sa fonctionne .

le capteur se trouve au dessu du cardant fixé sur la boite coté conducteur

 

170819084153391915227829.png

170819084153391915227828.png

Merci beaucoup pour les plans ça m'a bien aidé. Du coup le nettoyage de la connectique n'a pas suffit, avec le multimètre la sonde n'a aucune continuité...

profites en pour regarder l'etat du faisceau. l'echappement ne doit pas passer loin...

effectivement l'échappement ne passe loin du tout

  • 2 semaines plus tard...
Posté(e)

Bon la sonde à été changée ce matin et verdict, ça ne fonctionne toujours pas ...

Je suis à Montélimar pour le travail en ce moment, du coup est ce que quelqu'un connaît un réparateur de compteur par ici?

Posté(e)

Avant d'incriminer le compteur, je brancherai un vagcom pour voir si la vitesse est lue, en roulant bien sûr

Posté(e)

Mon problème c'est justement que je suis loin de chez moi du coup je peux pas faire ça. Par contre si la vitesse n'est pas lu, sachant que la sonde est neuve, de quoi ça peut venir si ce n'est pas le compteur?

Posté(e)

La bague polarisée montée sur l'axe de sortie de boîte.

Elle peut se casser au fond du carter de boîte

Posté(e)

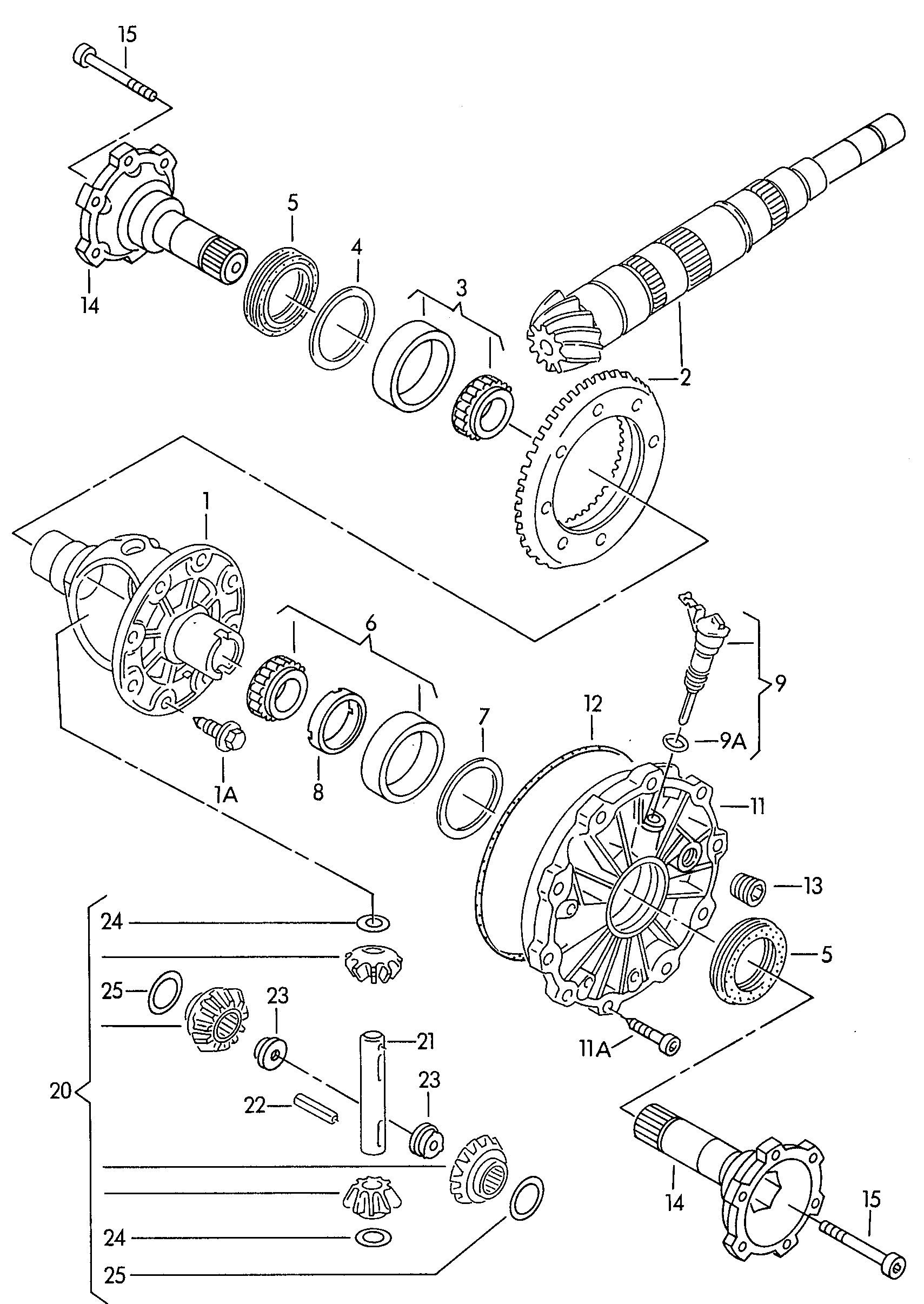
a priori, il suffit d'ouvrir le carter de differentiel,

 

la bague polarisée est le n°8

 

118409250.png

Posté(e)

avant de voir coté boite ,tu peut faire un diag avec vcds , tu peut tester le compyeur ,voir si les aiguilles fonctionnes bien et se place a la verticale

voici mon test

Posté(e)

Aujourd'hui j'ai remarqué que malgré que le compteur ne fonctionne pas la voiture est passé de la position 3 à 2 toute seul en arrivant vers 90km. Ce qui me laisse penser qu'elle reçoit bien une information sur la vitesse. Du coup vu que demain je rentre chez moi en train pour le week-end, je vais récupérer le compteur et la clé de sa donneuse pour essayer de bidouiller ça la semaine prochaine.

  • 1 mois plus tard...
Posté(e)

a priori, il suffit d'ouvrir le carter de differentiel,

 

la bague polarisée est le n°8

 

118409250.png

Je devrais réussir à faire le test du compteur dans la semaine, mais si c'est bien la bague, connaissez vous un site où trouver cette fameuse bague polarisée? Je me vois mal de voir changer de boîte à vitesse juste à cause d'une pièce qui doit coûter une misère.

Créer un compte ou se connecter pour commenter

Vous devez être membre afin de pouvoir déposer un commentaire

Créer un compte

Créez un compte sur notre communauté. C’est facile !

Créer un nouveau compte

Se connecter

Vous avez déjà un compte ? Connectez-vous ici.

Connectez-vous maintenant
×
×
  • Créer...