-
Compteur de contenus
14 069 -
Inscription
Tout ce qui a été posté par Sylvain
-
... Voir l'article complet
-
... Voir l'article complet
-
... Voir l'article complet
-
[IDF] Rdv mensuel Dimanche 10 Août
Sylvain a répondu à un(e) sujet de Bagheera dans Les Manifestations
Bonjour ce sera le dimanche matin 14 septembre 2014 à partir de 9h00. Sylvain -
... Voir l'article complet
-
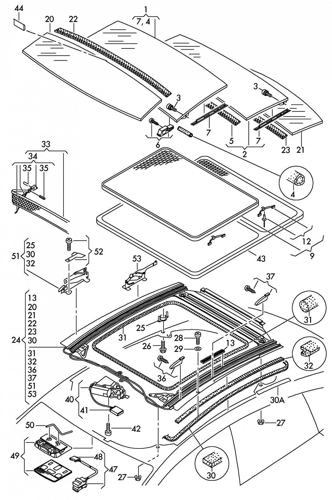
Bonjour, l'un des gros défauts de l'Audi A2 est la fragilité de son toit ouvrant Opensky. Face à un toit qui a du mal à s'ouvrir ou se refermer, il n'existe pas de nombreuses solutions : - laisser le toit fermé et ne pas en profiter - le faire réparer chez Audi : comptez plus de 2500 euros de réparations - le faire réparer en Allemagne chez un concessionnaire Audi sous garantie en faisant une grosse révision (environ 500 euros) : l'audi A2 doit avoir moins de 10 ans - le réparer soi-même : c'est ce qui nous intéresse ici. Pendant longtemps, on pensait que l'on ne pouvait pas le faire soi-même. Mais en réalité il existe des pièces de réparations ou kit de réparation disponible chez Audi et peu de gens le save. Voici les références des pièces / kit de réparation : - 8Z0 898 738 A : kit réparation guides : 146 euros - 8Z0 898 738 B : kit réparation tôles de guidage : 51 euros - 8Z0 898 738 C : kit réparation pièces intermédiaires : 30 euros - 8Z0 898 738 ou 8Z0 898 738 D : kit réparation cables dans leur gaîne (c'est ce kit à privilégier car les câbles d'origine sont en plastiques et ils ont été renforcés par du métal) : 293 euros - 8Z0 959 591B : moteur toit ouvrant : 388 euros Pour réparer son toit ouvrant, il faut démonter le ciel de toit afin d'accéder à la structure du toit qui peut être par la suite démonter pour mieux travailler dessus. Sylvain
-
Merci de lire ce rappel et de mettre un titre explicite à ton sujet :coucou: Pour cela, utilise le bouton , la fonction est disponible 24 heures. Sans modification rapide, ce sujet sera fermé et archivé. :coucou:
-
... Voir l'article complet
-
Quel type d'essence pour Audi 80 GLS?
Sylvain a répondu à un(e) sujet de CharlesDeodato dans 80 / 90 / Coupé / Cabriolet / 4000 / S2 / Coupé S2 / Avant S2 / RS2
Bonjour, de préférence 98 + additif. Sylvain -
Bonjour, la Maj des forums n'a pas encore été faire. Encore un peu de patience SVP. Le site (qui date de 2009) va prochainement évolué vers une nouvelle architecture plus conviviale et plus puissante. Tout est fait pour vous offrir le maximum de confort. Sylvain
-
... Voir l'article complet
-
... Voir l'article complet
-
Le prix a l'air d'être correct pour le kilométrage et l'année. Il vaut mieux avoir la garantie Porsche pour les modèles récents et peu kilométrés. Sylvain
-
Bonjour, quelques infos sur le site. Il n'y a pas que des forums : http://www.audipassion.com/news/1943/51/Restylage-pour-l-Audi-Q3-l-Audi-RS-Q3/ Sylvain
-
Audi Premium Vélizy (78)
Sylvain a répondu à un(e) sujet de sca dans Concessionnaires Audi - Ile de France
Bonsoir, Juste pour info, en moyenne sur un véhicule neuf Audi, la marge du concessionnaire est de seulement 1000 euros... Le but est de faire du volume. Sur un VO, cela ne va pas chercher loin aussi. Donc si un garagiste commence à changer des pièces par ci, par là, refaire de la carrosserie, ... Il n'a plus aucun intérêt de la vendre car il perd de l'argent. Les VO sont ainsi normalement sélectionnés pour leur état. Rien n'empêche par la suite d'avoir des griffures / bosses quand elles sont exposées sur parc (intempéries, visiteurs passant entre les voitures et pouvant les frotter avec un sac, ...). Le problème est toujours le même : avant d'acheter on vérifie bien ce qui est visible (que cela soit pour une voiture à 1 000 euros ou une à 50 000 euros). Comme cela pas de surprise et de prises de tête entre les 2 parties. Sylvain -
Audi Premium Vélizy (78)
Sylvain a répondu à un(e) sujet de sca dans Concessionnaires Audi - Ile de France
@Eve91, vous venez vous plaindre sur nos forums avec des arguments qui nous font penser que les torts sont partagés. Sur ce point tout le monde semble d'accord. Ensuite, vous n'appréciez pas nos avis alors qu'un forum est là pour échanger en argumentant. Si vous n'admettez pas les critiques ou les remarques, je me demande pourquoi vous vous exprimez pour ensuite faire "la victime". Nous donnons chacun notre avis en toute neutralité (et oui c'est le cas même si vous nous croyez pas!!!). Cela s'appelle la liberté d'expression tout en vous respectant. Nous vous donnons des conseils afin que cette situation ne se reproduise pas pour vous et vous vous braquez. Tant pis pour vous. Pour répondre à touringpowa, une telle attitude personnellement me saoule. Sylvain -
Audi Premium Vélizy (78)
Sylvain a répondu à un(e) sujet de sca dans Concessionnaires Audi - Ile de France
Pour info, comme je l'ai écrit au débit de mon message, je donne mon avis en toute neutralité en me fondant uniquement sur vos écrits car je n'ai pas ceux de la concession et personnellement je m'en fiche. Je ne prend ainsi pas partie que cela soit pour Eve ou pour la concession. A la lecture de votre récit, les 2 parties sont en tort. Soyez plus vigilante et observatrice à l'avenir et tout se passera bien. Sinon achetez du neuf et là vous pourrez pinailler sur la moindre imperfection. Sylvain -
Audi Premium Vélizy (78)
Sylvain a répondu à un(e) sujet de sca dans Concessionnaires Audi - Ile de France
Bonjour, je suis navré de lire votre récit mais en toute neutralité, les torts je pense sont partagés. Quand on achète un véhicule neuf, tout doit être nickel. Un Véhicule d'occasion, même récent, reste une occasion et a déjà vécu. J'ai acheté bon nombre d'Audi à des particuliers et à des concessions, qu'ils soient propres ou sales. La première des choses est de voir le véhicule à la lumière du jour (et non dans un local fermé) puis l'essayer. Puis faire l'état des lieux. Sur un véhicule, même sale, on voit les bosses, les rayures, les frottements, ... Il faut observer. Il suffit de prendre un peu de temps pour faire le tour du véhicule, ouvrir le capot, inspecter les divers endroits à l'intérieur, regarder en dessous voire la faire monter sur un pont élévateur. Si le véhicule vous paraissait trop cher (d'après vos dires), il fallait prendre un peu de temps pour en trouver un autre. Rien ne vous forçait à l'acheter. Quand on achète un VO à un pro, il faut être vigilent sur son aspect et signaler les pbs, points négatifs avant de négocier le prix puis signer un bon de commande. Après, il peut se passer plein de choses et vous n'avez que vos yeux pour pleurer car c'est parole contre parole. Seuls les écrits font foi. Certains ferment les yeux sur des détails (rayures, bosses, ...) car le prix va avec l'état ou tout simplement parce qu'ils s'en fichent. Selon vos dires, ll y a eu plusieurs gestes (carrosserie, remise, nettoyage en profondeur) et une compréhension de la concession. Donc c'est tout à leur honneur pour aller dans votre sens et montrer leur professionnalisme. Mais delà à livrer un véhicule VO qui est neuf sans aucun défaut, c'est rare. Il y a de l'usure plus ou moins prononcée. Donc le professionnel peut être compréhensif mais il ne peut pas refaire un vo à neuf. Le but est de faire le plus de marge, cela reste un professionnel. Il n'est pas là pour perdre de l'argent, tout comme vous acheter un VO au meilleur prix. Donc, selon mon point de vue, vous n'avez pas assez fait attention lors de l'essai et lors de la signature de la commande et vous vous êtes aperçu après des défauts qui ne semblent pas si catastrophiques mais compréhensibles pour le prix déboursé. Nous connaissons plusieurs personnes qui y ont acheté des VO et qui sont pleinement satisfaits. Le 100% satisfaction n'existe pas et je vous remercie d'avoir exposé votre avis qui permettra j'en suis sûr d'améliorer leur professionnalisme. En étant agressif et en harcelant un garagiste, par expérience cela ne marche pas. Il faut être diplomate, flexible ou sinon utiliser la voie pénale si toute communication est impossible. Dans votre cas, c'est votre parole contre celle du professionnel et si l'auto ne vous satisfaisait pas, il fallait refuser de l'acheter. Hors vous avez payé le prix à la livraison après un premier refus. Puis vous constatez des rayures après être arrivée chez vous. Rien ne prouve que ce n'est pas vous qui avez abîmé les pièces. Et ça tout professionnel le sait. Ainsi vous ne pouvez pas rejeter toute la faute sur la concession. Il y avait un véhicule à vendre dans un état et à un prix. Libre à vous d'accepter ou de refuser de l'acheter. Après, c'est trop tard. En conclusion, il faut observer et prendre son temps. Cela évite ce genre de désagréments qui ne sont bénéfiques à personne. Sylvain -
[Tuto] - Réparation vitre arrière capote qui se décolle Audi A4 Cabriolet
Sylvain a répondu à un(e) sujet de defco dans A4 B6 / A4 B6 Cabriolet - (2001 à 2004)
Bonjour, comment avez-vous procéder pour mettre le mastic? par l'intérieur ou par l'extérieur? Pour la sangle, comment la positionner à l'intérieur? en dessous des coussin? Sylvain -
J'étais aussi sur place. Dommage d'avoir râté ce sujet. Sylvain
| Quelques Liens | |||||||||||||||||||||
|---|---|---|---|---|---|---|---|---|---|---|---|---|---|---|---|---|---|---|---|---|---|
|
Administrateur |
La Charte du Forum |
||||||||||||||||||||
Rappel sur la Diffamation et la Calomnie
La diffusion d’informations fausses ou erronées visant à déstabiliser, voire à compromettre l’intégrité d’autrui, voire même jugée tendancieuse ou malhonnête, pourra être considérée comme de la diffamation pouvant faire valoir nos droits en déposant plainte contre les auteurs de ces propos.
C'est pourquoi, vous êtes tenus de respecter notre Charte d'Utilisation à l'instant même que vous vous trouvez dans ces lieux.
Information
Merci à vous d'être dans ces lieux, de participer et de partager vos expériences dans la communauté des 4 anneaux.
Il est important de ne pas oublier, qu'en naviguant sur cette plateforme et qu'en vous connectant sur AudiPassion, que vous avez lu et accepté notre charte d'utilisation.
Publicité
AudiPassion vit grâce à son référencement par les moteurs de recherche et de la publicité non-intrusive.
L'utilisation de filtres bloquant les scripts de référencement statistique ou l'affichage de bannières publicitaires n'est pas recommandé.
Pour faire vivre le forum gratuitement, nous vous remercions de ne pas activer cette fonctionnalité dans votre navigateur...