Aller au contenu

tba4

Utilisateur
  • Compteur de contenus

    1
  • Inscription

  • Dernière visite

À propos de tba4

Information de profil

  • Sexe
    Homme
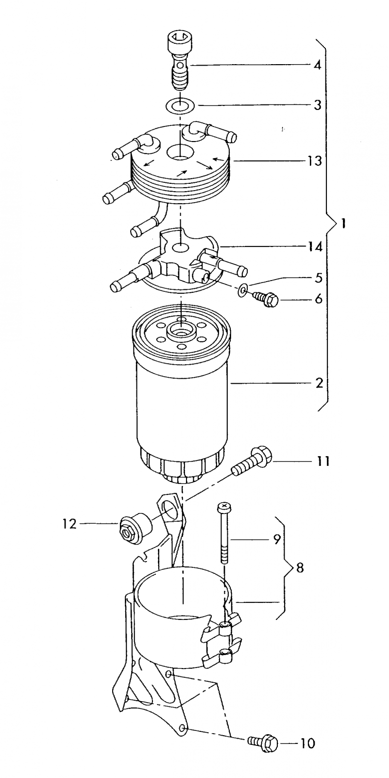
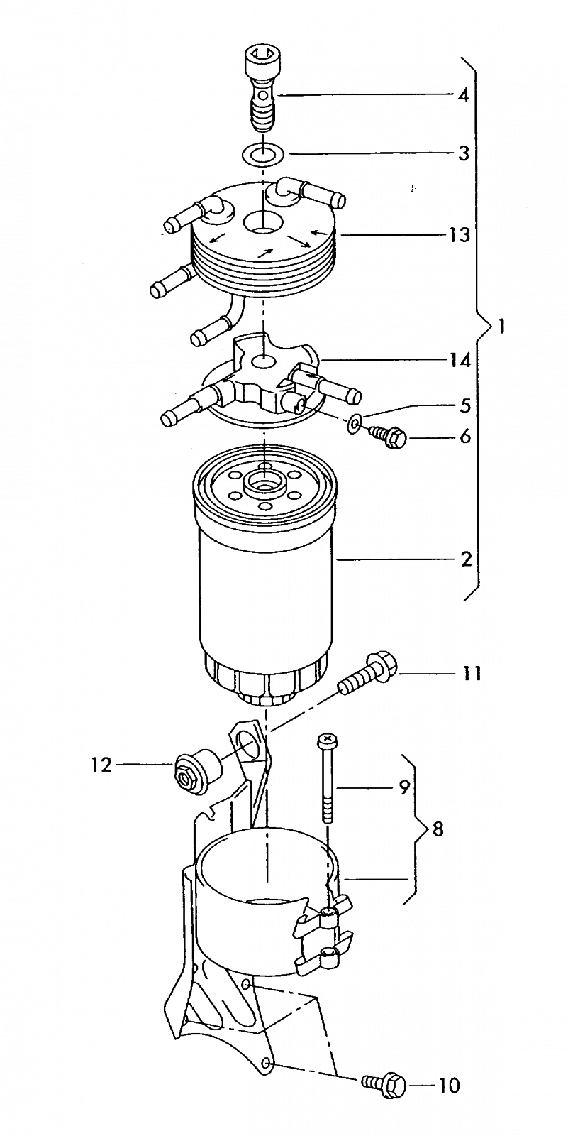
  1. Bonjour, Lors de ma dernière vidange, mon garagiste m'indique qu'il n'a pas pu changer le filtre à gasoil car la vis qui le maintient est foirée (vis 4). Il m'annonce qu'il faut changer tout le bloc 1 ! Je pense moi que ça n'est pas nécessaire. Effectivement la vis six pans creux est foirée (j'en ai commandé une neuve à Audi 10€), mais si j'enlève tout le bloc 1 du support, pensez-vous que je peux m'en sortir avec une clé à filtre d'un coté et en tenant le réchauffeur de gasoil de l'autre coté ? Je risque pas d’abîmer le réchauffeur ? Merci pour vos réponses Thibaud.
×
×
  • Créer...